
ここしばらく目立った動きが無かったマツダの特許関連情報ですが、今週は2年前に大きな注目を集めた特許出願が登録されています。
〇特許情報プラットフォーム
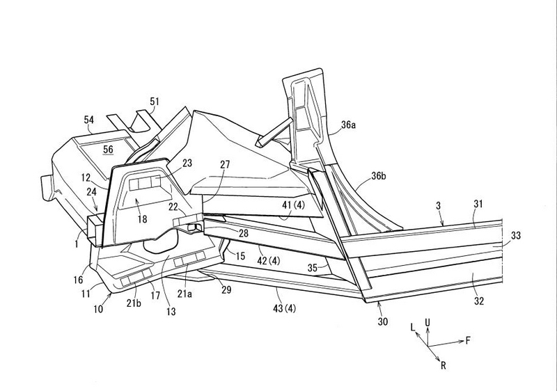
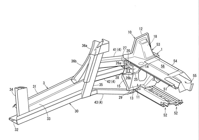
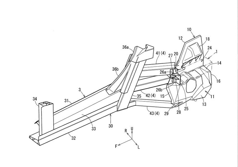
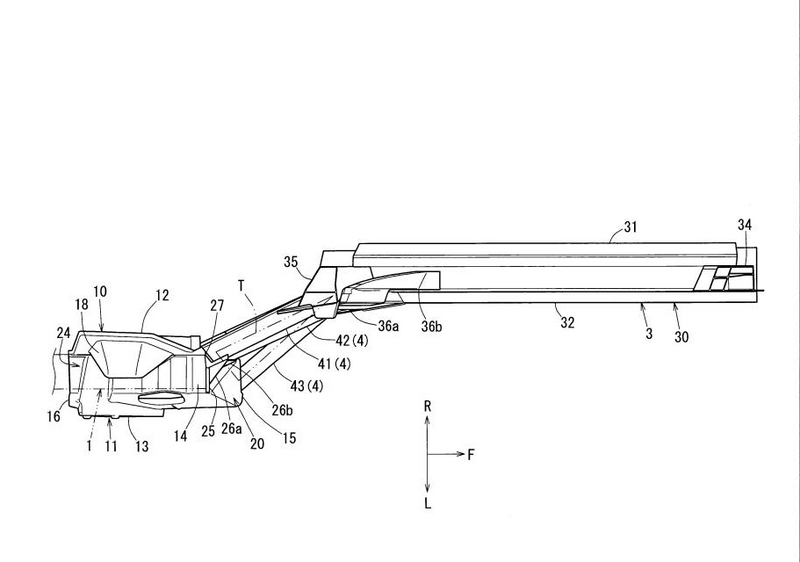
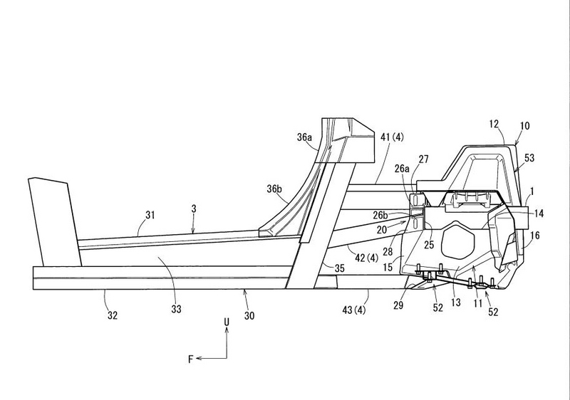
今回無事に登録されたのは2021年8月に出願公開されていた「車両の後部車体構造」という題名の特許2件(説明図は同じ)
(1件目)https://ipforce.jp/patent-jp-P_B1-7327175
(2件目)https://ipforce.jp/patent-jp-P_B1-7327176
















〇資料に記載されている特許の目的
例えばスポーツカーのような車両の後部車体構造においては車両の操縦安定性を高めるためにリヤサスペンションの支持剛性を高める必要がある。
さらには、車両の後部車体構造においては、車両後方から衝突物が衝突した時に、後突荷重がリヤサイドハウジングに入力されることがあるため、リヤサイドハウジングに入力された後突荷重を車両前方へ効果的に伝達する必要がある。
しかし、従来の構造は、車幅方向外側接合部と車幅方向内側接合部とが、これらの車幅方向の間も含めて複数の剛性部材により構成されるため、後突荷重やリヤサスペンションからの入力荷重を、互いに離間した車幅方向外側接合部と車幅方向内側接合部とによってしっかりと受け止めつつ、複数の連結フレームを介して車両前方へと伝達する荷重伝達効率をさらに高める点で改善の余地がある。
本発明はこのような課題に鑑みてなされたもので、リヤサスペンションの支持剛性を確保できるとともに後突荷重をリヤサイドハウジング(剛性部材)からサイドシルとピラーとの結合体に効果的に伝達することができる車両の後部車体構造の提供を目的とする。
(2021年8月に出願公開された時に取り上げたブログ記事)
こちらはマツダの特許でおなじみになっている「アルミ製スペースフレームを採用したスポーツカー」に関する特許ですが、その中でも今回取り上げてる特許はスペースフレームの構造だけでなくリア周りのエクステリアデザインまで説明図に描かれているのが大きな特徴。
そして、描かれているエクステリアデザインはテールランプの切り欠き部分を中心に"RX-VISION"とほぼ同じです。


アルミ製スペースフレームに関する特許は当初からロードスターよりさらに高性能なスポーツカーを意識しているのが有力視されていましたが、2021年8月にこの特許出願が公開された事で次世代ロータリースポーツを特に意識している可能性がより高まった印象でした。
ちなみに、この特許が出願公開された2021年8月以降も「駆動用3ローターエンジン搭載のハイブリッド車両」「非対称のリセス形状を採用した駆動用ロータリーエンジン」「格納式ドアハンドル」など次世代ロータリースポーツに関する特許が定期的に出願され続けています。
毎回述べているように「あとは量産モデルの登場を待つだけ・・・」という段階になってきてる印象ですが、マツダは今年MX-30 R-EVでロータリーエンジンを"まずは"発電用として復活させたのに加えて、モータースポーツ活動を強化する方針も示しているので、徐々に実現への流れが来てる気もするのは考えすぎでしょうか?(笑)
ここ最近目立った動きが無かった特許関連情報ですが、2023年後半に向けて出願公開が再び増えてくするのか引き続き情報に注目しておきたいと思います。