
MX-30 Rotary-EVでロータリーエンジン搭載の量産車を復活させたマツダですが、2021年12月に出願公開されていたロータリーエンジンに関する内容が今週新たに登録されています。
〇特許情報プラットフォーム
今週新たに登録されたのは2021年12月に出願公開されていた「ロータリエンジン」という題名の特許。
(2021年12月に取り上げたブログ記事)
(https://ipforce.jp/patent-jp-P_B1-7405006)















説明文にも書かれていますが、こちらは「2ローターの直噴ロータリーエンジン」に関する特許。
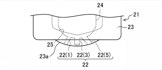
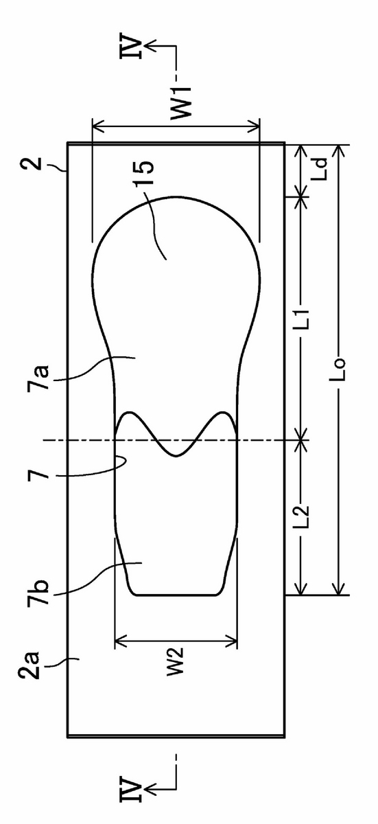
特徴としてはRX-7やRX-8に搭載されてきた13B型ロータリーエンジンと違ってローターリセス形状が電球のような非対称型が挙げられます(13Bは上下対称の長方形)
非対称型のローターリセスはMX-30 Rotary-EVでも採用されていましたね。


この特許が出願公開された2021年時点では発電用ロータリーエンジンが1ローターと公表されていたので当時は駆動用と推測していましたが、今年のジャパンモビリティショー2023で発表された「ICONIC SP」が2ローター化した発電用ロータリーエンジンを縦置きで搭載する前提と公表されたので、駆動用だけでなく発電用の可能性も出てきています。


直噴式や非対称のローターリセス等はMX-30 Rotary-EVと共通ですが、今回の特許はスパークプラグが13B型と同様に2本装備なので、ここは異なります(MX-30 Rotary-EVに搭載されている8C型は1本)
ただ、マツダはほぼ同じ構成の2ローターエンジンでスパークプラグが1本の特許も出願していたので、用途も合わせて様々な可能性を検討してると思われます。
現在のところMX-30 Rotary-EVはロータリーエンジンの製造規模に限りがある事ので供給可能台数はまだまだ限られていますが、今後他の車種にも搭載する事も検討はしてるようなので、ゆくゆくはICONIC SPのようなスポーツカーが登場する事も願うのみ。
まもなく2023年も終わりますが、来年以降も関連特許が出願公開されることに期待ですね。