
マツダの特許出願では定番になってきたインホイールモーターとトランスアクスルに関する内容ですが、今週に入って2019年~2020年頃に出願公開されていた内容2件が新たに登録されています。
今週新たに登録されたのは2件。
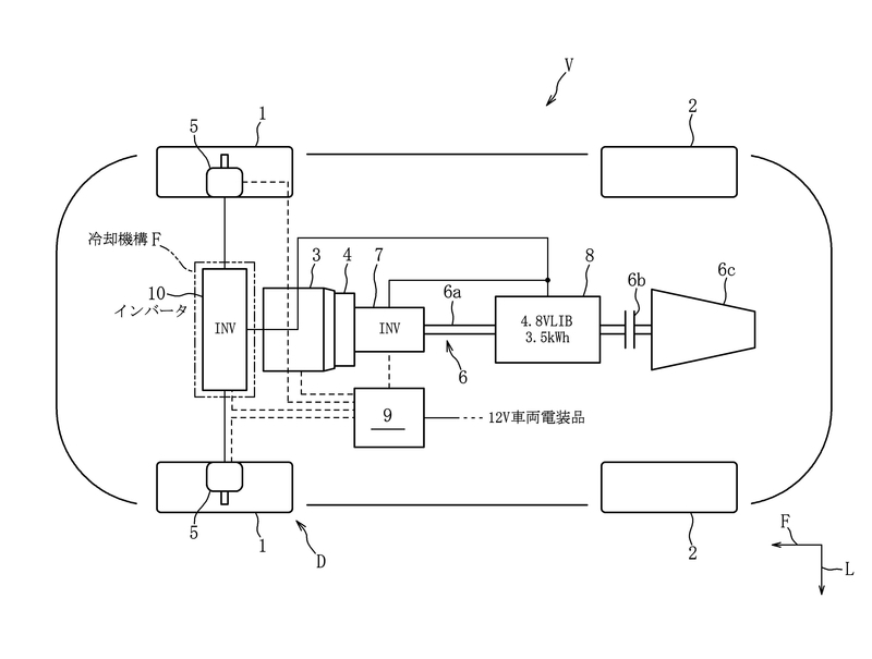
まずは2019年12月に出願公開されていた「車両用インバータの冷却構造」という題名の内容。












〇資料に記載されている特許の目的
本発明の目的は、作動流体内にインバータを浸漬したヒートパイプにおいて、十分な冷却能力を確保可能な車両用インバータの冷却構造等を提供することである。
こちらはインホイールモーターやトランスアクスルに加えてアルミ製スペースフレーム採用も視野に入っている内容なので、次世代ロータリースポーツなどの本格的なハイパフォーマンスカーを視野に入れている内容と思われます。
(2019年12月に出願公開された時に取り上げたブログ記事)
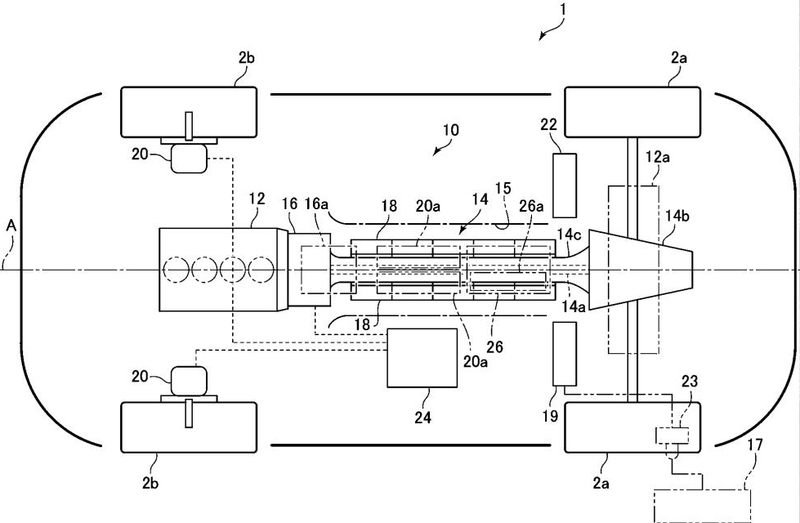
もう一件は2020年6月に出願公開されていた「車両駆動装置」という題名の内容。











〇資料に記載されている特許の目的
本発明は、車両に搭載されたモータを比較的高い電圧で駆動する場合にも、絶縁材による重量や、コストの増加を抑制することができる車両駆動装置を提供することを目的としている。
こちらもインホイールモーターとトランスアクスルを採用した車両(プラグインハイブリッド)ですが、大きな特徴としては「バッテリーがセンタートンネル内に搭載されている」事です。


資料内では衝突時のバッテリー損傷の防止やハーネス類の長さ短縮が主な目的として記載されていますが、もう一つ考えられるのは「車高が低い車両の実現」
CX-60から本格導入されるラージ群アーキテクチャーはバッテリーがフロア下に搭載されていますが、この搭載方法だとバッテリー保護等の観点からある程度地上高を確保する必要がありセダンのような車高が低めの車種を登場させるハードルが高くなります。


今回の特許のようにセンタートンネル内にバッテリーを搭載すればその分だけ車高を下げる事が出来るはず・・・。
さらにインホイールモーターとトランスアクスルに関する特許はロータリーエンジンやアルミ製スペースフレームに関する特許と関連する事例がかなり多いので、この特許を活かしてMAZDA6後継モデルや次世代ロータリースポーツが登場するかもしれない?という妄想も楽しめます(笑)
(2020年6月に出願公開された時に取り上げたブログ記事)
今回登録された2件はいつも通り”あくまで特許"ではありますが、インホイールモーターやトランスアクスルに関する内容は2022年に入ってから複数登録されているのでどうしても期待が高まってしまいます・・・。
(一例)
今後も関連する内容が出てくると思われるので引き続き注目しておきたいと思います。