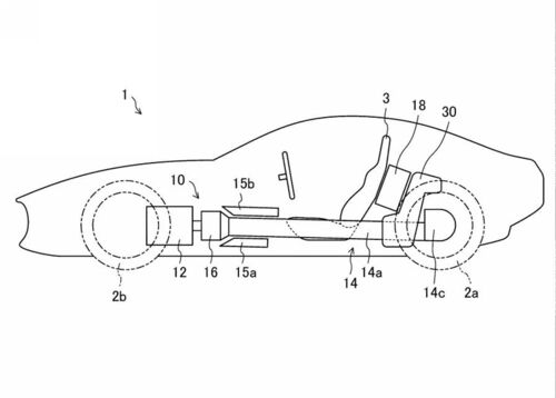
(画像 ipforce.jp) 2022年最初に公開されたマツダが出願中の特許は10件。 新年最初からかなり注目度の高い内容が公開されているので取り上げます。
引用をストックしました
引用するにはまずログインしてください
引用をストックできませんでした。再度お試しください
限定公開記事のため引用できません。