
2022年最初に公開されたマツダが出願中の特許は10件。
新年最初からかなり注目度の高い内容が公開されているので取り上げます。
2022年最初に取り上げるのは「"駆動用"ロータリーエンジンを採用したハイブリッド車(おそらく2ドアクーペ・スポーツカー)」に関する内容を4件。
〇1件目
特開2022-2427 | 知財ポータル「IP Force」




















〇資料に記載されている特許の目的
走行用モータを利用する車両用駆動システムにおいて、車両重量やコストの増大を抑制しつつ、モータを高出力化し、モータへの長時間の電力供給を可能にし、かつ、当該車両用駆動システムが持つポテンシャルを十分に発揮させることを可能にすることを目的とする。
〇2件目
特開2022-2428 | 知財ポータル「IP Force」








〇資料に記載されている特許の目的
走行用モータを利用する車両用駆動システムにおいて、車両重量やコストの増大を抑制しつつ、モータを高出力化し、モータへの長時間の電力供給を可能にし、かつ、当該車両用駆動システムが持つポテンシャルを十分に発揮させることを可能にすることを目的とする。
〇3件目
特開2022-2429 | 知財ポータル「IP Force」











〇資料に記載されている特許の目的
走行用モータを利用する車両用駆動システムにおいて、車両重量やコストの増大を抑制しつつ、モータを高出力化し、モータへの長時間の電力供給を可能にし、かつ、航続距離の問題を緩和可能にすることを目的とする。
〇4件目
特開2022-2430 | 知財ポータル「IP Force」









〇資料に記載されている特許の目的
走行用モータを利用する車両用駆動システムにおいて、車両重量やコストの増大を抑制しつつ、モータを高出力化し、モータへの長時間の電力供給を可能にし、かつ、当該車両用駆動システムが持つポテンシャルを十分に発揮させることを可能にすることを目的とする。
以上4件となります。
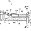
資料を見る限りだと2ドアクーペやスポーツカーという記述はありませんが、駆動用ロータリーエンジンを搭載している事に加えて、フロントシートのすぐ後ろにバッテリー(No.18)と燃料タンク(No.30)が備わってるのでほぼ間違いないと思われます。
このサイドビューはRX-VISIONとも似てる気がするので・・・(笑)


ハイブリッド用バッテリーをフロア下では無くフロントシートと燃料タンクの間に搭載するのは重量配分やスポーツカーらしい低い車高を実現させるためだと推測されます。
これに加えて大きなポイントは「フロントにインホイールモーターを採用している事」ですが、マツダはすでにFR車を前提としたインホイールモーターに関する特許を複数出願済みなので、これらの内容も2ドアクーペ・スポーツカーを意識した特許だったのかもしれませんね。
(FR車を前提としてインホイールモーターに関する特許出願の一例)
さらに、マツダの2ドアクーペ・スポーツカーに関する特許出願ではおなじみのアルミ製スペースフレームに関する内容も定期的に出てきているので、これらの技術を組み合わせて"次世代ロータリースポーツ"を生み出そうとしているのかもしれません。
(アルミ製スペースフレームに関する特許出願の一例)
あくまで特許とはいえ新年早々かなり期待が広がる内容が公開されたので2022年もどのような展開があるのか非常に楽しみですね!