
今週公開されたマツダの特許出願の中から気になる内容を紹介します。
〇特許情報プラットフォーム
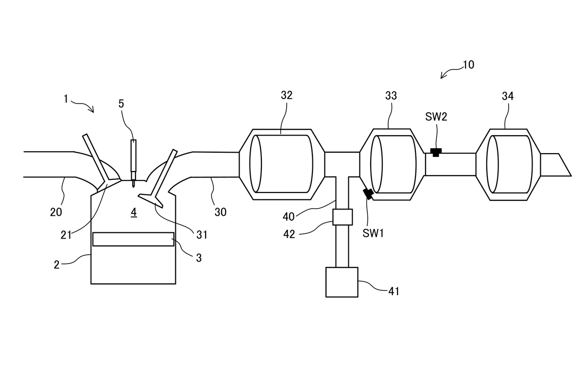
今回取り上げるのは「排気浄化装置」という題名の特許出願2件。
①:2026-10932 | 知財ポータル「IP Force」














☆資料に記載されている特許の目的
適切なタイミングで2次エアの供給を停止することにより、HC浄化性能とNOx浄化性能を両立することにある。
②:2026-10935 | 知財ポータル「IP Force」










☆資料に記載されている特許の目的
触媒の酸素被毒抑制と酸化反応の低下抑制を両立し、HC浄化性能を向上するために、適切な周期で2次エアを供給すること。
これらはガソリンエンジンの排気浄化装置に関する内容ですが、第1触媒と第2触媒の間に【2次エア供給装置】を装備しているのが大きな特徴。
このような装置を採用するのは触媒を素早く活性化させる事によって排ガス浄化性能を向上させるのが理由で、調べた限りだと1960年代~80年代は2輪・4輪用エンジンで採用例が多くあったものの、近年は排ガス規制強化や触媒性能向上によってホンダ・S2000用エンジン(マルチポート排気2次エアシステム)くらいしか採用例が出てきません。
マツダではロータリーエンジンがマスキー法をクリアする時に採用された「サーマルリアクター」が2次エア供給装置の一種になります。
ほとんど採用例が無くなってきてる中で2次エア供給装置を検討しているのは中々驚きですが、説明文には次世代ガソリンエンジン"SKYACTIV-Z"の開発コンセプトに挙げられていた【理論空燃比ラムダワン(λ=1)】や、スーパー耐久シリーズで実証実験が開始された"CO2回収技術"に使用されている【ゼオライト】というフレーズも入っているので、これらに関係する可能性があるかも・・・?
あくまで特許なので今後量産車に採用されるかは不明ですが、現行エンジンとは異なる構成・機能に関する特許出願が増えているので、次世代エンジンの開発は着々と進んでいるはず。
SKYACTIV-Zに関してはラムダワン燃焼を採用する直4 2.5Lくらいしか明らかにされてないので、実際の走りだけでなく特許の反映ぐらいも気になるところです。
令和6年能登半島地震災害・9月21日豪雨被害の義援金受付関連。
(全て令和9年3月31日まで受付)
◎石川県公式HP
・地震災害用リンク
令和6年(2024年)能登半島地震に係る災害義援金の受付について | 石川県
・豪雨被害用リンク
・富山県公式HP
・新潟県公式HP