
出願・登録件数が少ない状況が続いているマツダの特許関連情報ですが、今週は気になる内容が公開されました。
〇特許情報プラットフォーム
今週出願公開されたのは「燃料改質システムと6ストロークエンジン」に関する特許。
☆特許出願 2024-021473

















☆特許出願 2024-021481












☆特許出願 2024-21479













☆特許出願 2024-21486









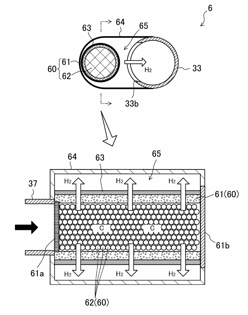
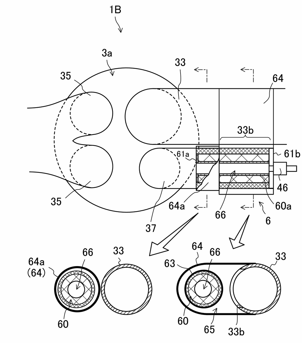
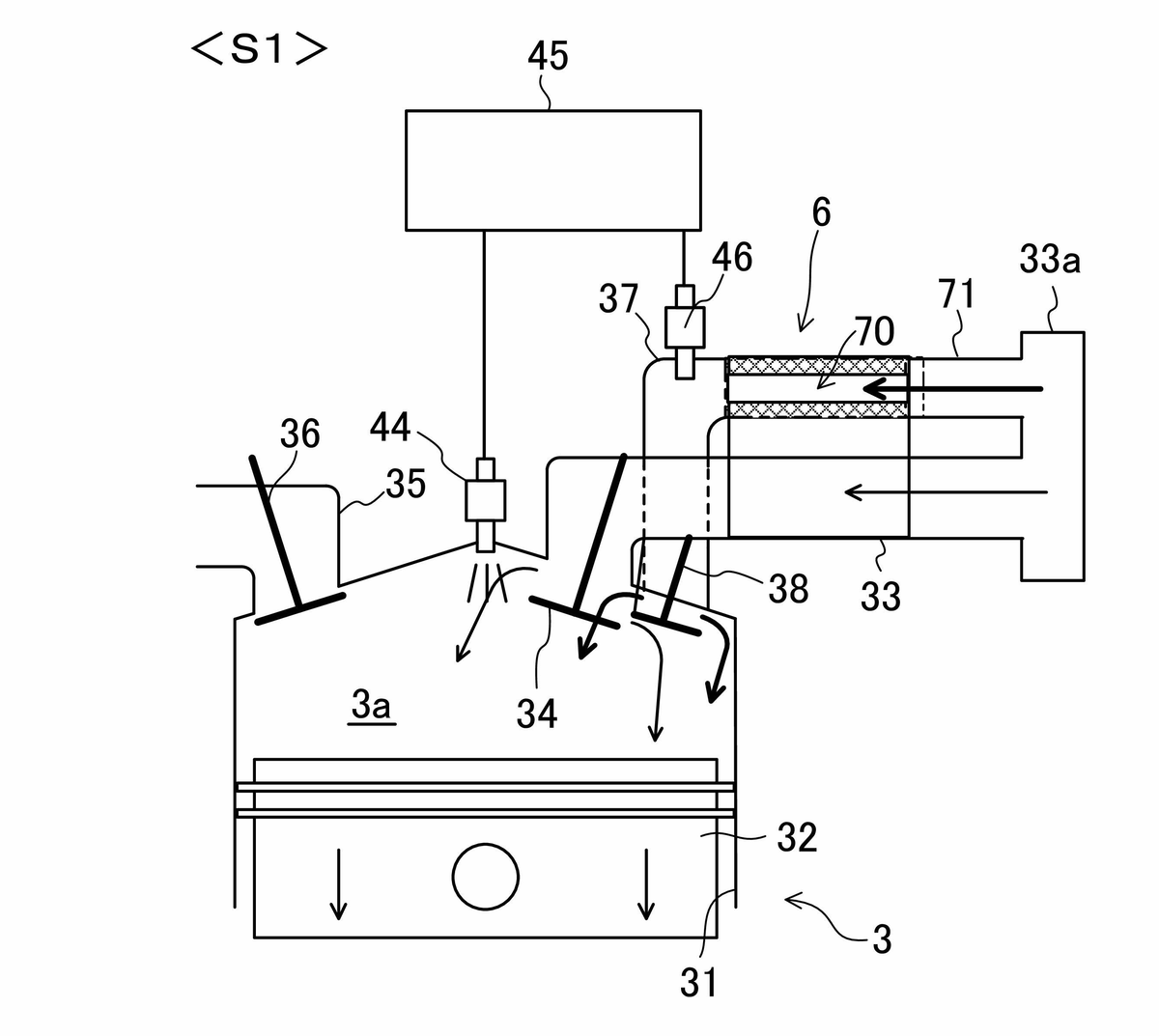
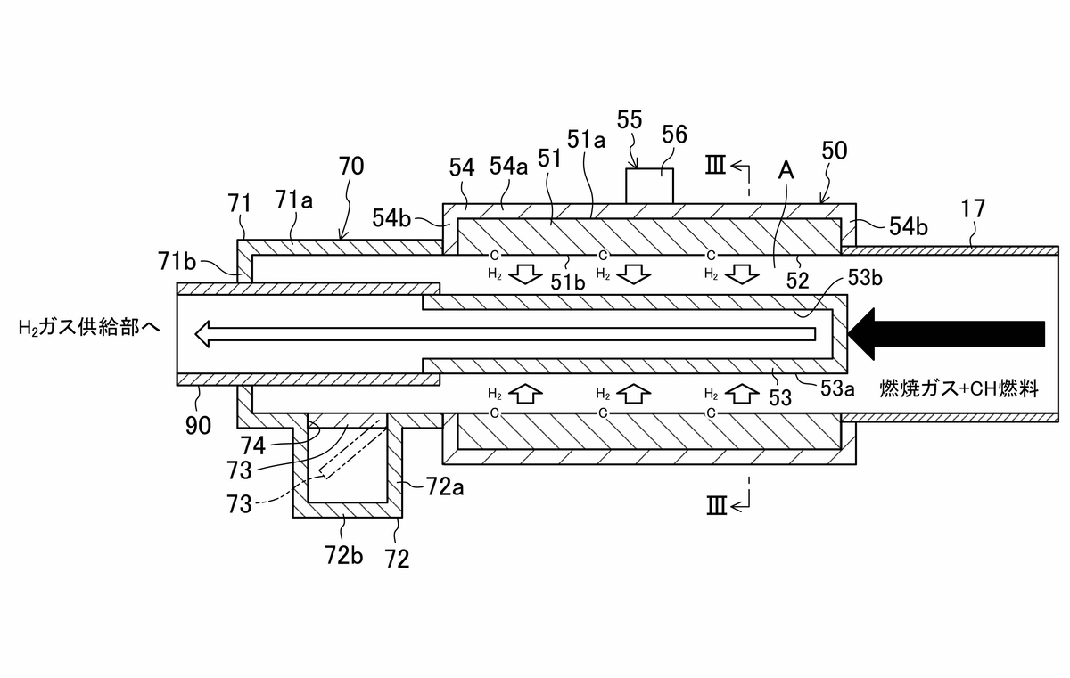
燃料改質システムとは、ガソリンなどの炭化水素燃料を水素とカーボンに分解するためのシステムで、ガソリンより燃焼速度/燃えやすさが優れている水素を使用する事で熱効率を向上させる目的があります。
カーボンを分離させる事でカーボンニュートラルも実現可能で、取り出したカーボンは産業用として活用する事も資料で触れられていました。
加えて大半のレシプロエンジンで採用されている4ストロークではなく"6ストローク"を視野に入れてるのは、燃費改善だけでなく水素とカーボンに分解する事も理由に挙げられています。
マツダはこれまでにも燃料改質システムと6ストロークエンジンに関する特許を数件出願していましたが、ここまで多くの特許出願が同時公開されたのは初めてです。
既存とは異なるシステム・構成なので、真っ先に関連性が思い浮かぶのは2027年に市場導入予定となっている次世代ガソリンエンジン「SKYACTIV-Z」ですが、このエンジンは出来る限りシンプルな構成を目指しているようなので、燃料改質システムと6ストロークエンジンはやや複雑な印象も・・・。
ただ、マツダはスーパー耐久シリーズへ参戦しているMAZDA SPIRIT RACING 3 Future conceptでCO2回収技術を実証実験する予定なので、内燃機関用の回収技術はある程度本格的に検討している可能性も考えられます。
かなり思い切った内容なので"あくまで特許"ではありますが、マツダは他にも「水噴射装置」や「ツインプラグ(1気筒毎に2つの点火プラグ)」などの特許も出願しているので、様々なアプローチで次世代ガソリンエンジンの研究・開発を進めているのは間違いありません。
SKYACTIV-Z登場が近づくにつれて関連特許もさらに増えるはずなので、引き続き注目しておきたいと思います。
令和6年能登半島地震災害・9月21日豪雨被害の義援金受付関連。
◎石川県公式HP
・地震災害用リンク(令和7年12月26日まで受付)
令和6年(2024年)能登半島地震に係る災害義援金の受付について | 石川県
・豪雨被害用リンク(令和7年3月31日まで受付)
・富山県公式HP(令和7年3月31日まで受付予定)
・新潟県公式HP(令和7年12月26日まで受付予定)