つらつらとMAZDA

マツダに関する備忘録的ブログ。

2022-03-24から1日間の記事一覧

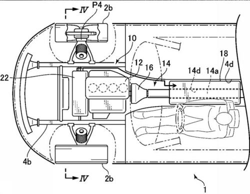
マツダが出願していた「インホイールモーターとトランスアクスルを採用したFRベースのハイブリッド車」に関する特許が登録されました。

(画像 ipforce.jp) 2022年に入ってから出願・登録件数が少ない状況が続いているマツダの特許情報ですが、今週気になる内容が登録されたので取り上げたいと思います。

コロンビア向けのCX-30・MAZDA3にもマイルドハイブリッド搭載モデルが追加されました。

(画像 MAZDA) 欧州を中心にマイルドハイブリッド搭載モデルのラインナップを拡大しているマツダですが、南米・コロンビア向けのCX-30・MAZDA3にも新たに搭載モデルが追加されました。