昨年はあまり目立った動きが無かったマツダの特許関連情報ですが、2025年は早速気になる内容が中国で公開されました。
今回取り上げるのは中国の特許関連機関「国家知識産権局」のデータベースから。
こちらのHPでは中国国内で出願・登録された特許が検索可能になっていますが、マツダの特許関連情報を調べると気になる特許出願が公開されてました。
題名:「座舱结构(コックピット構造)」
(出願番号:CN119239276A)




(翻訳)
本実施形態の車両Vは、内燃機関と電動機とを組み合わせて駆動力を得るハイブリッド自動車のうちのプラグインハイブリッド車(PHEV)であり、家庭用商用電源から車両を駆動することができる。蓄電装置が充電されます。
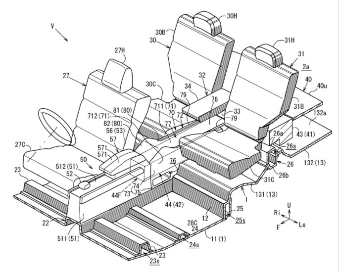
リアシート30、31の間、すなわち車幅方向中間部には、リアシート左右を車幅方向に隔てるリアシート用センターコンソール70が設けられている。リアシートのシートバック30B、31Bの間、すなわち車幅方向中央には、ミドルアームレスト32が設けられている。
左右のリアシート30、31は、リアシート用センターコンソール70とミドルアームレスト32によって車幅方向に分離され、両方の独立性が確保されている。


(翻訳)
図1、図2、図7に示すように、本実施形態の車両Vは、プラグインハイブリッド車(PHEV)であるため、駆動用バッテリ41、42を搭載している。
本実施形態の車両Vは、走行用バッテリとして第1バッテリ41と第2バッテリ42を車体に搭載している。第1バッテリ41は、リアシート30,31後方の荷室空間2aに配置されている。
第2バッテリ42は、リアシート30,31の左右の座面30C,31Cの間に配置されている。
第2バッテリ42のバッテリボックス44は、図示しないボルト及びナットからなる締結部材によって後部シートパッド131に取り付け固定されている。上面。図7に示すように、第2バッテリボックス44は、後端部44rが第1駆動用電池ボックス43の車幅方向中間部の前端部43fに近接して前方に直線状に延びるように配置されている。
その結果、第1および第2バッテリケース43,44は、全体平面図で見るとT字形状に配置されている。




(翻訳)
前席用センターコンソール部50は、図1、図5、図6、図7に示すように、内装部材としての中空箱状のカバー部材51と、シフトレバー52と、コンソールボックス53とを主に備えている。カバー57と、物品収納部53を支持する取付部材67(図7参照)と、後席用エアコンダクト62(図6、7参照)とを備えている。
本実施形態のコンソールボックス53は、タブレット型コンピュータを縦置きできる奥行きを有している。
後席センターコンソール70の天板部711には、携帯端末等を置くことが出来る浅底トレイ77が設けられており、トレイは後方に向けて立ち上げられている。
また、後席センターコンソール80の立ち上げ部81には、後席乗員の手で触れることができる操作系(ディスプレイ等)が設けられている。
具体的には、ディスプレイやオーディオボリューム等である。操作系がディスプレイの場合は、表示される全体像を後席乗員が確認できるようにする。
ディスプレイは、液晶ディスプレイや有機ELディスプレイ(有機ELディスプレイ)などを用いることができる。ディスプレイにはタッチパネルが設けられていてもよい。
入力機能とは、オーディオ関連や後席用シートヒーターなどの各種機能を操作するためのスイッチ類やソケット(端子)である。
【0147】 入力方法は、ボタン、ダイヤル、ジョイスティックなどが挙げられ、ソケットとしてはUSB端子やAC/DCソケットなどが挙げられ、数や種類は特に限定されない。
【0148】 本実施形態では、オーディオ機器や後席ヒーター等の操作入力部83、 USBソケット84とACコンセント85が設けられている。




(翻訳)
図14および図15に示すように、リヤサスペンションショックアブソーバ(図示せず)の上端を支持するショックアブソーバ支持部材213は、後述する第4フロアクロスメンバ211よりも車両後方に位置している。その後、リアサイドフレーム204のサイドフレーム上部204aと係合する。
ショックアブソーバ支持部材213は、例えばアルミダイカスト製の高剛性部材であり、内壁を構成する左右一対のリアサイドパネル(図示せず)とサイドフレーム上部とで形成されている。荷室R2のフロア204aは、後述する第4フロアクロスメンバ211に接続されており、車体骨格部材として機能する。ショックアブソーバ支持部材213上の車両下方には、リアサスペンションショックアブソーバに支持された後輪(図示せず)が配置されている。
バッテリケース233は、例えばアルミニウム合金ダイカスト製の高剛性ケースであり、第1バッテリ231を収容するケース後部234と、ハウジング後部234とから構成されている。ハウジングの前部235は一体的に形成されており、平面視でT字状である。
☆資料に記載されている特許の目的
(翻訳)
バッテリ容量を確保しつつ、駆動用バッテリを荷室の後部床面上に搭載しようとすると、荷室の床面が高くなり、荷室内の空間の実質的な高さが不足してしまう。この技術的課題は特に薄型でルーフが低いスタイルを重視する車両で顕著です。
また、これまでの特許でリアシートの下側にバッテリを配置すること、すなわち、駆動用バッテリを備えた駆動用電池ボックスを配置することが提案されているが、この解決策にはシート座面が高くなり、リアシート乗員の頭上空間が不足する課題がある。
また、後席バックレストを前傾させてキャビンフロアのうち後席設置部分まで荷室フロアを拡張してフラットな拡大荷室フロアを形成したとしても、駆動装置が搭載されているため、電池ボックスは嵩張り、荷室をフラットにするのが難しい。
本発明は、上記技術的課題に鑑み、駆動用電池ボックスを床上に搭載した構造において、荷室および後部座席の高さを確保できるキャビン構造を提供することを目的とする。バッテリー容量の高さを損なわずに室内の配置面積を確保でき、後席背もたれを前方に倒した際のフラットな荷室フロアの面積を拡大できます。
また、電池ボックスを前方に伸長拡張させても、センターコンソール本来の機能を損なわないようにすることも目的である。
また、バッテリを収容するボックスを強固にして車体の剛性を向上させることも目的である。
こちらはプラグインハイブリッド車の車体構造に関する特許出願ですが、まず最初のポイントは「ハイブリッド用バッテリーの搭載位置」
現在マツダが市販している「MX-30 Rotary-EV」「ラージ商品群SUV」「EZ-6」のPHEVは一般的な車体底面にバッテリーを搭載していますが、今回の特許は"ラゲッジルーム下部とリアシートの真ん中の2か所に分けて搭載"しているので、平面図で見るとバッテリーがT字形状に見えます。
ちなみに、これまで複数回取り上げた「インホイールモーターとトランスアクスルを採用したFRベースのハイブリッド車」に関する特許でも、センタートンネル内にバッテリーを搭載している事例がありました。


そして、車体中央の前後方向にハイブリッド用バッテリーが搭載されている事から、資料に描かれている車両のリアシートは左右が完全独立されていて、ハイブリッド用バッテリーを覆うようにセンターコンソールが設けられているのもポイント。
センターコンソールにはスマホを置けるトレイだけでなくエアコンやオーディオを操作するスイッチや液晶ディスプレイも備える事も視野に入っています。
一方、フロントシート側のセンターコンソールやインパネの一部はラージ商品群SUVと同じデザインにも見えますが・・・。
今回の特許はハイブリッド用バッテリーをフロアより上部に搭載した場合でも乗員空間やフラットな荷室を確保するのが主な目的のようですが、リアシートを左右独立させている事や特許の目的の中で"薄型でルーフが低いスタイルを重視する車両"について触れている事から、セダンや4ドアクーペでPHEVを検討してる可能性も考えられます。
フロントシートのセンターコンソールやインパネを見るとラージ群アーキテクチャーで検討してる予感も・・・・。
ラージ商品群に関しては現在販売されているSUV4車種で"出揃った"とマツダが表現していましたが、以前から要望の声が大きいMAZDA6の次期型/後継モデルを検討してるのでしょうか・・・?


ちなみに、センターコンソール(センタートンネル)内部にバッテリーを搭載している特許は、これまで複数回取り上げた「インホイールモーターとトランスアクスルを採用したFRベースのハイブリッド車」の内容でも採用例があるので、こちらとも関連性があるのでしょうか・・・?
☆2022年6月に登録されたインホイールモーターとトランスアクスルを採用したFRベースのハイブリッド車に関するマツダの特許。


いつも通り現時点ではあくまで特許ですが、中国語の自動翻訳では確認しきれない部分も多くあるので、今後日本や欧米でも同じ特許出願が公開されるのか気になるところ・・・。
今後さらに関連する別の特許出願が公開される可能性もあるので引き続き注目しておきたいと思います。
令和6年能登半島地震災害・9月21日豪雨被害の義援金受付関連。
◎石川県公式HP
・地震災害用リンク(令和7年12月26日まで受付)
令和6年(2024年)能登半島地震に係る災害義援金の受付について | 石川県
・豪雨被害用リンク(令和7年3月31日まで受付)
・富山県公式HP(令和7年3月31日まで受付予定)
・新潟県公式HP(令和7年12月26日まで受付予定)