今週新たに公開されたマツダの特許出願は6件。

その中から気になった内容を取り上げます。
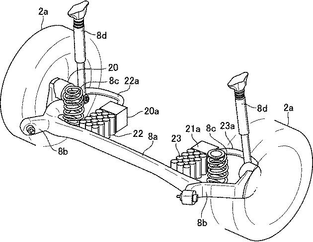
今週取り上げるのは先日から複数回出てきている「インホイールモーター車両」に関する新たな内容を3件。
「車両駆動装置」という題名の内容(1件目)
特開2020-63008 | 知財ポータル「IP Force」










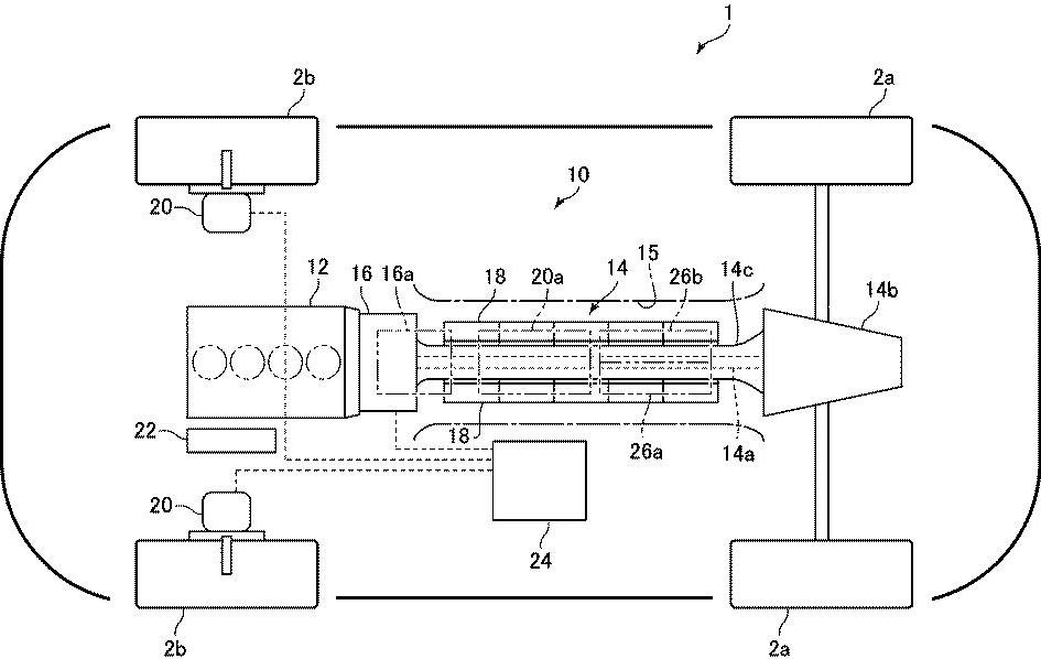
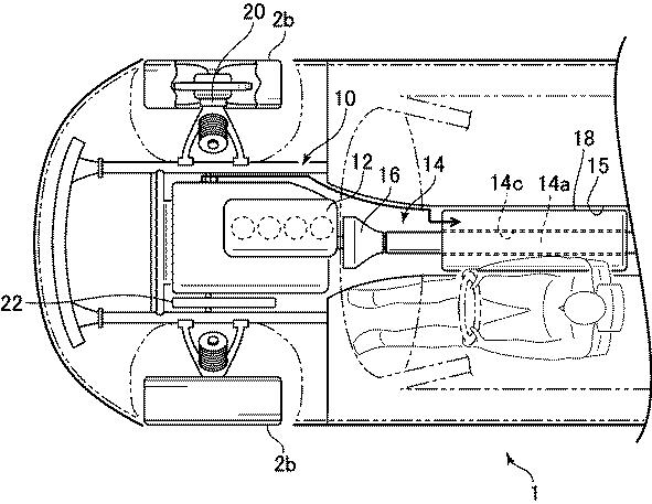
基本構成はこれまで取り上げたインホイールモーター車両に関係する特許内容と同じです。
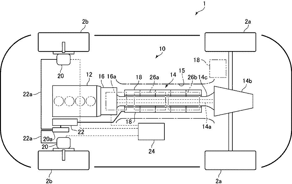
・FRベースの48Vハイブリッド車両
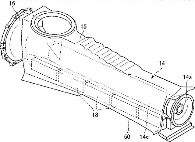
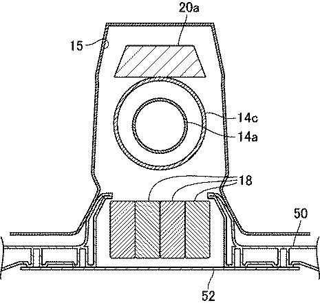
・トランスアクスル式(説明図・No.14bがトランスミッション)
・フロントにインホイールモーター搭載。
今回の資料では直列4気筒エンジンが掲載されています。
資料に記載されている特許の目的は・・・
本発明は、車両の衝突時等におけるバッテリの過度の損傷を防止しながら、車室や荷物の積載スペースを過剰に狭くすることなく、バッテリを搭載することができる車両駆動装置を提供することを目的としている。
バッテリー(資料上ではリチウムイオン)をセンタートンネル内・トルクチューブとプロペラシャフトの下部に搭載する事で交換作業も容易になると書かれています。
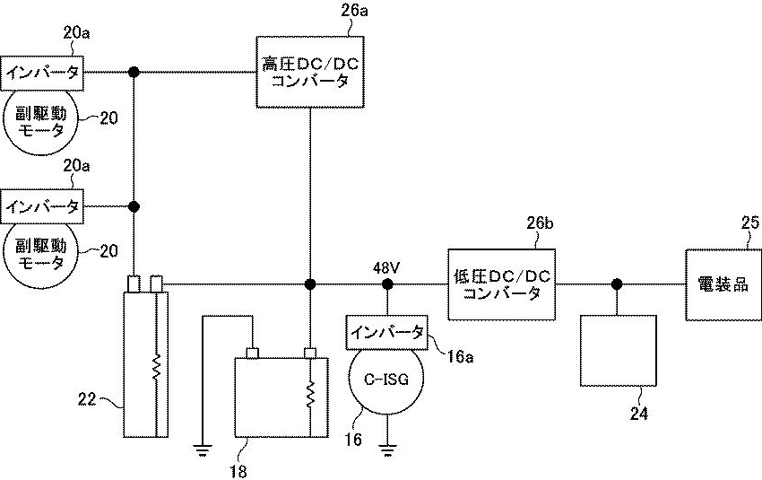
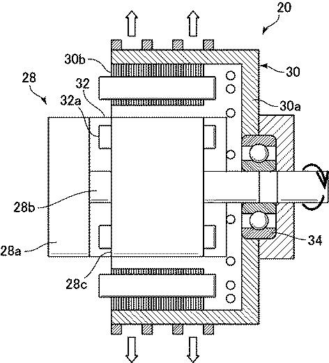
続いて2つ目の「車両駆動装置」という題名の内容。
特開2020-63009 | 知財ポータル「IP Force」







こちらの車両構成も先に取り上げた内容とほぼ同じで
・FRベースの48Vハイブリッド車両
・トランスアクスル式(説明図・No.14bがトランスミッション)
・ダブルウィッシュボーン式フロントサスペンション
・フロントにインホイールモーターを搭載。
・バッテリー(資料上ではリチウムイオン)をセンタートンネル内・トルクチューブとプロペラシャフトの下部に搭載
資料に書かれている特許の目的は・・・
本発明は、モータを比較的高電圧で駆動しながら、電力供給系統を絶縁する絶縁材による重量の増加を抑制することができる車両駆動装置を提供することを目的としている。
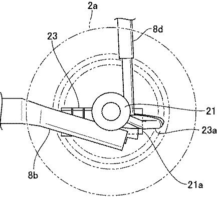
インホイールモーター用のキャパシタ(No.22)とインバーター(No.20a)を吸気側に設置することでワイヤーハーネスを短くして絶縁材の量も減らすことが出来ると書かれています。
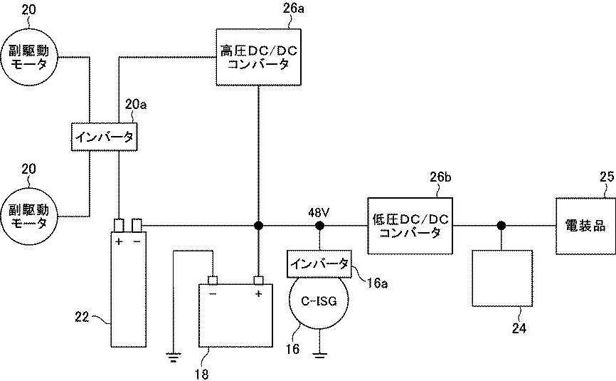
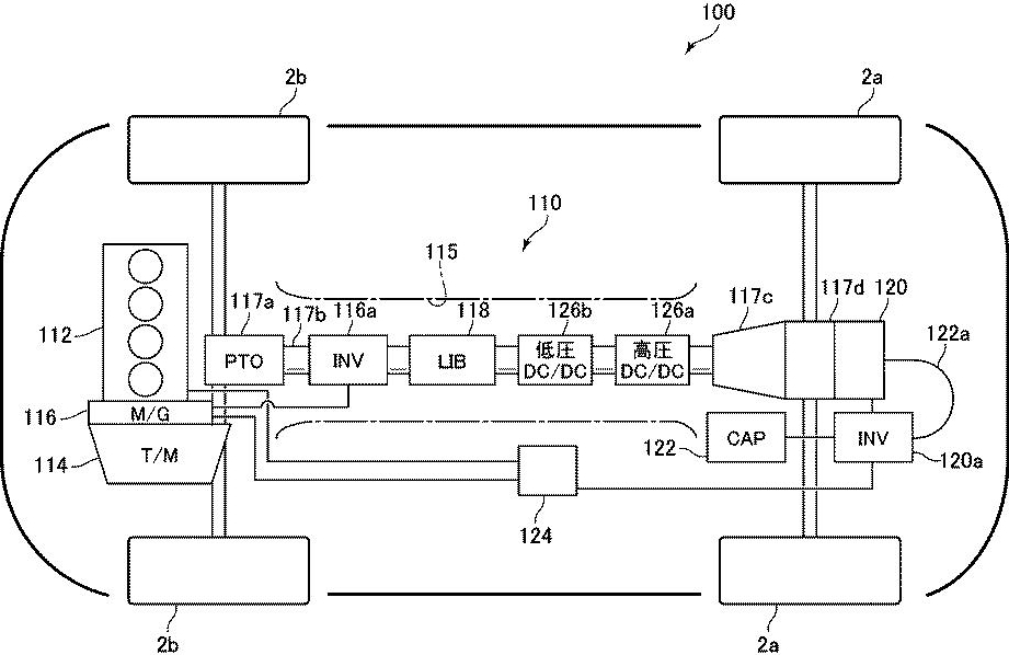
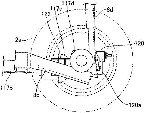
最後に3つ目の「車両駆動装置」という題名の内容。
特開2020-63010 | 知財ポータル「IP Force」










こちらのみFF車のインホイールモーター搭載車両に関する内容。
説明図後半の3枚はFFベースのAWD車両の場合です。
主な構成は
・FFベースの48Vハイブリッド車両。
・インホイールモーター(no.20/21)はリアに搭載
・AWD車両の場合はインホイールモーターでは無く、副駆動モーター(No.120)が装着される。
・トーションビーム式リアサスペンション
AWD車両の場合は先代デミオに採用されていた「e-4WD」に近いシステムになるのかもしれません。
資料に書かれている特許の目的は・・・
本発明は、モータを比較的高電圧で駆動しながら、電力供給系統を絶縁する絶縁材による重量の増加を抑制することができる車両駆動装置を提供することを目的としている。
キャパシタとインバーターをインホイールモーター(副駆動用モーター)のすぐ横に設置する事でワイヤーハーネスを短く出来ると共に絶縁材を減らすことも可能。
今週は以上になります。
インホイールモーターに関係する特許出願が相変わらず出てきています。
最初に出てきた時はやや現実味がありませんでしたが、ここまで様々なエンジンや駆動方式による資料が出てきているという事は開発も本格化しているのかもしれません。
来週以降もどのような内容が出てくるのか楽しみにしたいと思います♪
これまで取り上げたインホイールモーター関連の特許・出願もよろしければどうぞ。