
約2年前にマツダが「圧縮自着火式の2ストロークエンジン」に関する特許を出願している事をブログで取り上げましたが、同じ内容が米国でも出願されています。
約2年前の2020年3月にマツダが「圧縮自着火式(SPCCI燃焼)の2ストロークエンジン」に関する特許を出願している事が明らかになり、このブログでも取り上げました。
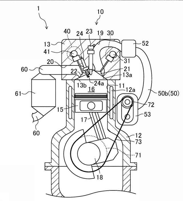
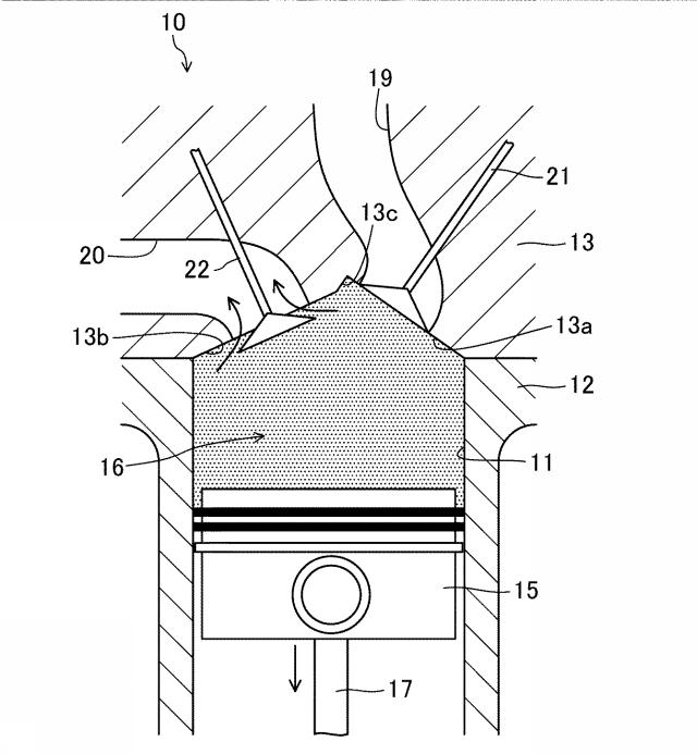
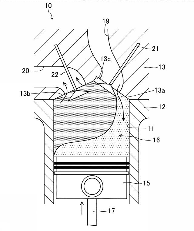
(説明図の一例)








一般的に2ストロークエンジンは4輪車よりも2輪車用というイメージが強い事に加えて排ガス規制の強化で搭載モデルもごく少数になっている事があったのでこのタイミングでマツダが2ストロークエンジンに関する特許(しかもSPCC燃焼)を出願している事に驚きましたが、これらの内容が米国でも出願されている事が明らかになりました。
複数の海外メディアも早速取り上げています。
米国特許庁のデータベースで検索してみると・・・。





In a two-stroke engine with a supercharger, in the case where compression self-ignition combustion (CI combustion), in which the fuel is compressed to ignite by itself, is implemented, engine noise is extremely large, especially under high load. For this reason, it is considered to implement spark ignition combustion (SI combustion), in which the fuel is ignited by a spark, under high load while conducting the compression self-ignition combustion under low load.
過給機付2サイクルエンジンにおいて、燃料を圧縮して自ら着火する圧縮自着火燃焼(CI燃焼)を実施した場合、特に高負荷時のエンジン騒音が非常に大きくなることが判明した。このため、燃料を火花で着火させる火花点火燃焼(SI燃焼)を高負荷で実施し、圧縮自己着火燃焼を低負荷で実施することが検討されている。
説明図や文章なども日本で出願された内容とほぼ同じですね。
いつも通り"あくまで特許"という内容ですが、日本に続いて米国でも出願されたのは中々興味深いところ・・・。
以前にも触れましたが、4輪のF1や2輪のMOTO GPでは水素ベースのエコ燃料を使用する2ストロークエンジンの採用を検討しているという動きも出てきています。
マツダはすでに水素ロータリーエンジンを開発した実績があるのに加えて次世代燃料としてe-Fuelやバイオディーゼルの活用を検討する動きも出ていますが、エンジン自体も様々な可能性を模索しているのは確かだと思われます。
今回取り上げた特許の内容を反映した2ストロークエンジンが今後登場するのか気になるところですね。