
昨年1月に日本と欧州で出願公開されていた「駆動用の3ローターエンジンを搭載したハイブリッド車」に関するマツダの特許ですが、同じ内容が米国でも出願されている事が明らかになりました。
今回の話題の中心は昨年1月に日本と欧州で出願公開されたこちらの特許。
〇欧州
〇日本
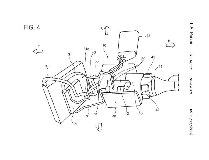
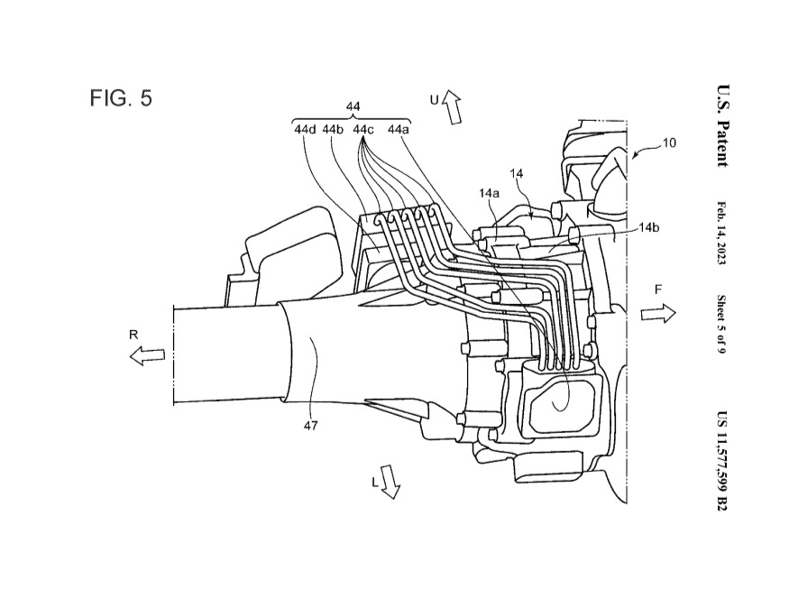
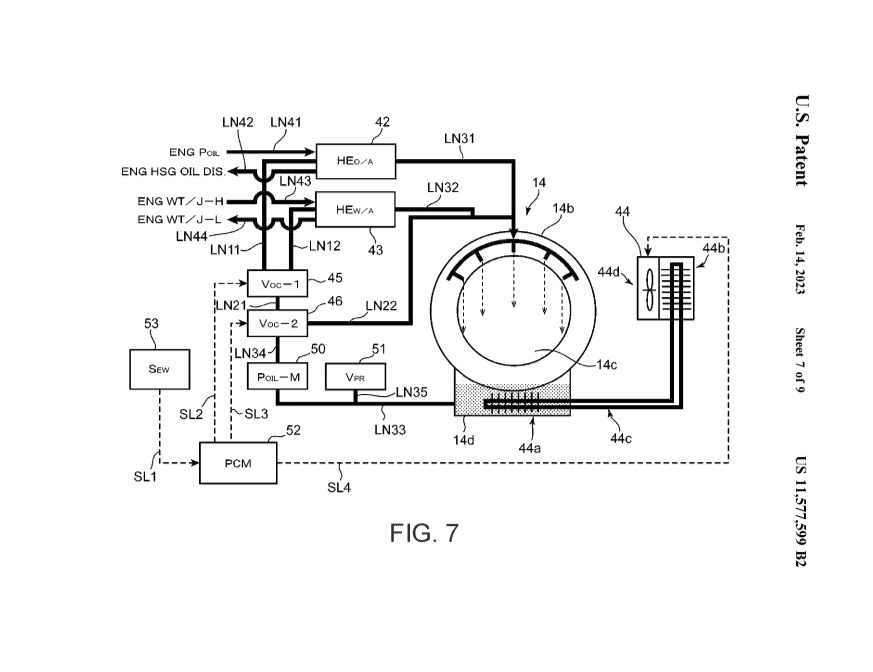
(説明図の一部)











☆ポイント
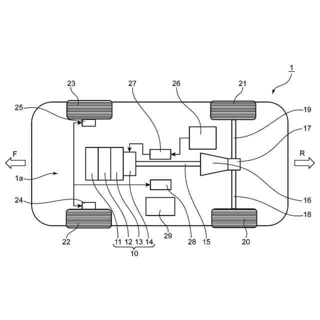
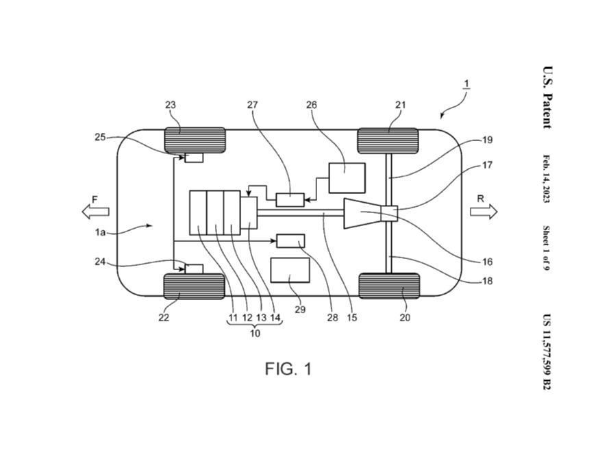
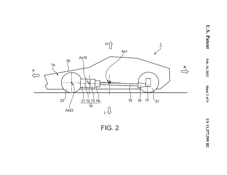
・駆動用3ローターエンジンを搭載したハイブリッド車
・別体のオイルタンクが備わっているのでドライサンプ方式
・トランスアクスル式を採用した後輪駆動車
・フロントにインホイールモーターが装備(EV走行モードも視野)
・描かれているサイドビューから2ドアクーペ・スポーツカーが有力か?
ロータリーエンジンや搭載モデルに関係するマツダの特許はこれまでにも複数取り上げてきましたが、3ローターを視野に入れている特許はブログ開始後初めてだった事もあってかなり大きな反響がありました。
大まかな説明図では無くエンジンの外観やオイルタンクまで具体的に書かれているのでかなり本格的に研究開発が行われている可能性も・・・?
この関連特許はこれまで日本と欧州のデータベース上で出願公開されている状況でしたが、ついに米国でも出願されている事が判明。
〇米国特許商標庁(USPTO)公式HP
〇出願番号 US 11577599 B2








日本・欧州と同じ説明図が掲載されています。
米国でもロータリーエンジンや搭載モデルに関する特許は複数出願・登録されていますが、3ローターエンジンに関する内容がデータベース上で公開されたのは今回が初めて。
いつも通り"あくまで特許"ではありますが、ここまで本格的な内容の特許がグローバルで出願されているのを見るとどうしても期待が高まってしまいますね・・・・。
ただ、マツダRX-8以来約10年ぶりのロータリーエンジン搭載車となる「MX-30 R-EV」を先月欧州で正式発表。
こちらは8C型と名付けられた発電用の1ローターエンジンですが、RX-7/RX-8に搭載されていた13B型エンジンより1ローターあたりの排気量をUPしたり直噴式になっているetc・・・・完全新設計のロータリーエンジンである事に変わりはありません。


MX-30 R-EVだけのためにロータリーエンジンを新開発する事は無いと思うので、発電用だけでなく駆動用も視野に入れて開発してる可能性も十分考えられます。
おそらくこのエンジンに合わせて工作機械や生産ラインも改良・刷新してるはずなので・・・。
現在のマツダは電動化やSUVラインアップの強化に注力していますが、ひと段したタイミングでこれらの特許を活かしたスポーツカーやクーペが登場すると嬉しいところです。
今回紹介した以外にも駆動用ロータリーエンジンやスポーツカーに関する特許が国内外で複数出ているのでよろしければチェックしてみてください。