
2024年に入ってからあまり動きが無かったマツダの特許関連情報ですが、今週は2022年に出願公開されていた興味深い内容が登録されています。
〇特許情報プラットフォーム
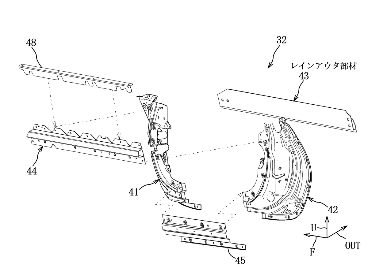
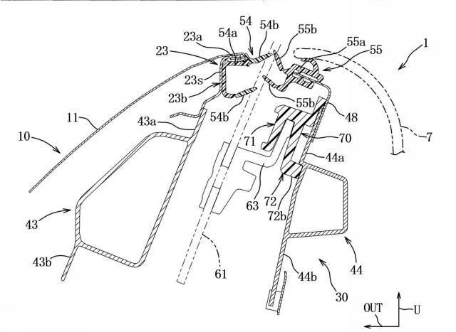
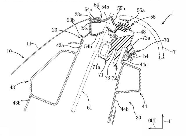
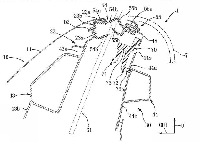
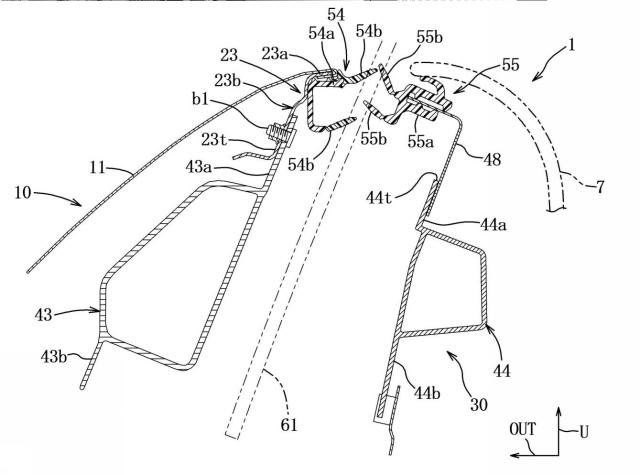
今週新たに登録されたのは2021年12月に出願公開されていた「車両のサイドドア構造及びサイドドア製造方法」という題名の特許。
(2021年12月に取り上げたブログ)
(https://ipforce.jp/patent-jp-P_B1-7436958)


















〇資料に記載されている特許の目的
本発明の目的は、外観性向上とシール性確保とを両立可能な車両のサイドドア構造及びサイドドア製造方法等を提供することである。
こちらは「サッシュレスタイプの2ドア車両」に関する特許ですが、説明文には"ハードトップ"と書かれているので、ロードスターではなくクローズドボディのクーペという事になります。
さらにアウターパネル・インナーパネル・インパクトバー(補強材)等にアルミニウム合金素材を使用する事にも触れているので、以前から複数出願されているアルミ製スペースフレームを使用したスポーツカーに関する特許とも関連性が強い可能性が高そうですね・・・。
この特許が出願公開されたのは2021年12月なので当時は「RX-VISION」を視野に入れているのが有力でしたが、その後昨年10月に新しいロータリースポーツコンセプト「ICONIC SP」が発表。
ドアの開閉方法は異なりますが、サッシュレスの2ドアというのは同じなのでこちらにも関係してくる可能性は十分考えられます。


ちなみにこの2台はどちらもコンセプトカーなのでドアハンドルが備わっていませんが、マツダは「格納式ハンドルを採用した2ドアクーペ用ドア」に関する特許もすでに複数出願。
ここ最近空気抵抗を減らすために極力段差を無くす"フラッシュサーフェイス"の考え方を取り入れた車が出てきているので、マツダも次世代のスポーツカーで採用を検討してるのかもしれません。
いつも通り現時点では"あくまで特許"ではありますが、マツダはICONIC SPに対する反響を受けて今月1日からロータリー開発グループを再始動させているので、今度こそ次世代ロータリースポーツ量産化へ繋がる事に期待ですね。
・石川県公式HP(令和6年1月4日から受付開始)
・富山県公式HP(令和6年1月5日から受付開始)
※:新潟県は現時点で義援金受け付けを行っていないようなので、日本赤十字を通じた義援金やふるさと納税で貢献するのがいいかもしれません。