つらつらとMAZDA

マツダに関する備忘録的ブログ。

2019-12-26から1日間の記事一覧

マツダの"あくまで出願公開"(2019.12.26)

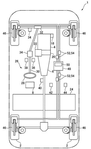
おそらく今年最後の出願公開になります。 (画像 ipforce.jp) そこそこの件数があったのでその中からいくつか取り上げます。