2022年に第一弾モデル登場が有力視されているマツダ次世代ラージ群。

以前から気になっているこのモデルがFRベースである理由を自分なりに深読みしてみました。
※あくまで個人的な妄想なので軽い気持ちで読んでみてください(笑)
深読みする前にまずはマツダのプレゼン資料でラージ群の概要を改めておさらい。


・FRプラットフォーム
・直6エンジン+マイルドハイブリッド
・直4エンジン+プラグインHV
(従来通りの直4エンジンもあるはず・・・)
ラージ群がFRプラットフォームや直6エンジンを採用する事はすでに多くの方がご存知だと思いますが、採用理由に関してマツダの藤原副社長は雑誌のインタビューでこのように証言しています。
①:マツダが重要視する米国市場を中心に大排気量エンジンは必要。
②:V6では排ガス削減用の補器類が2つ必要だが、直6だと一つで済む。
③:直6だとフレームも真っすぐ通せるのでオフセット衝突対応に有利。
④:電動化への対応も容易。
⑤:これらをコストを抑えた上で実現するために「直6+FR」にする。
⑥:大排気量エンジンを直6でやるのは2008年から決めていた。
”FR”や”直6”というキーワードだけで高級車を作ろうとしているように思われてる事例もありますが、実際は環境対応や衝突安全対応に対するコストまで視野に入れた上での判断との事。
ただ、FRプラットフォームや直6エンジンを新開発するのはかなり大きな決断に違い無い事に加えて、電動化対応はFFベースでもある程度可能なのでは?という疑問も少なからずあったので「まだ公にされていない採用理由があるのでは・・・?」という気持ちが以前からありました。
その中で今回深読みしてみようと思ったきっかけはトヨタが昨年12月に発売開始した「トヨタ・新型MIRAI」

この車もフルモデルチェンジのタイミングでFFベースからFRベース(GA-Lプラットフォーム)にチェンジした車種です。
FCVという事だけでなく走りの評価も高いので大きな注目を集めていますが、僕が新型MIRAIで注目していたのは「水素タンクの搭載方法」



先代モデルでは水素タンクが後部座席下やトランク部分に2本搭載されていましたが、新型ではタンク自体の小型化に加えてFRプラットフォームの利点を生かしてセンタートンネル部にもタンクを搭載。
これ以外にもFRベースになった理由はあると思いますが、水素タンクを増やして航続距離をさらに延ばすのが大きな理由と思われます。
FCVを改めて調べてみると、新型MIRAIだけでなく「メルセデスベンツ・GLC F-Cell」もエンジン搭載モデルと同じFRプラットフォームでセンタートンネルに水素タンクを搭載していました。


(
そして、マツダの特許・出願情報でも新型MIRAIやGLC F-Cellのようにセンタートンネルを生かして電動化する事を想定している内容がこれまでに複数出てきています。
①:インホイールモーターを備えたFRベースのプラグインHVに関する内容。
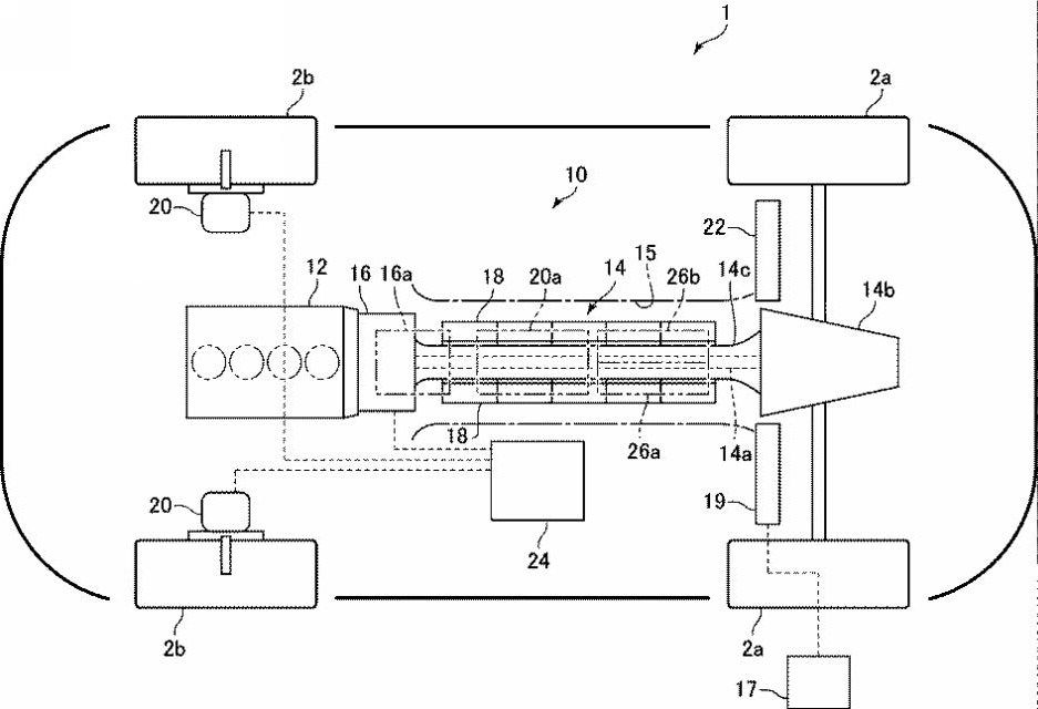
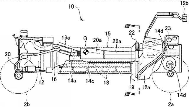
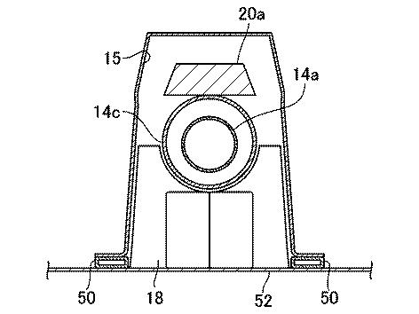
今週公開されたマツダの特許出願(2020.6.11) - つらつらとMAZDA
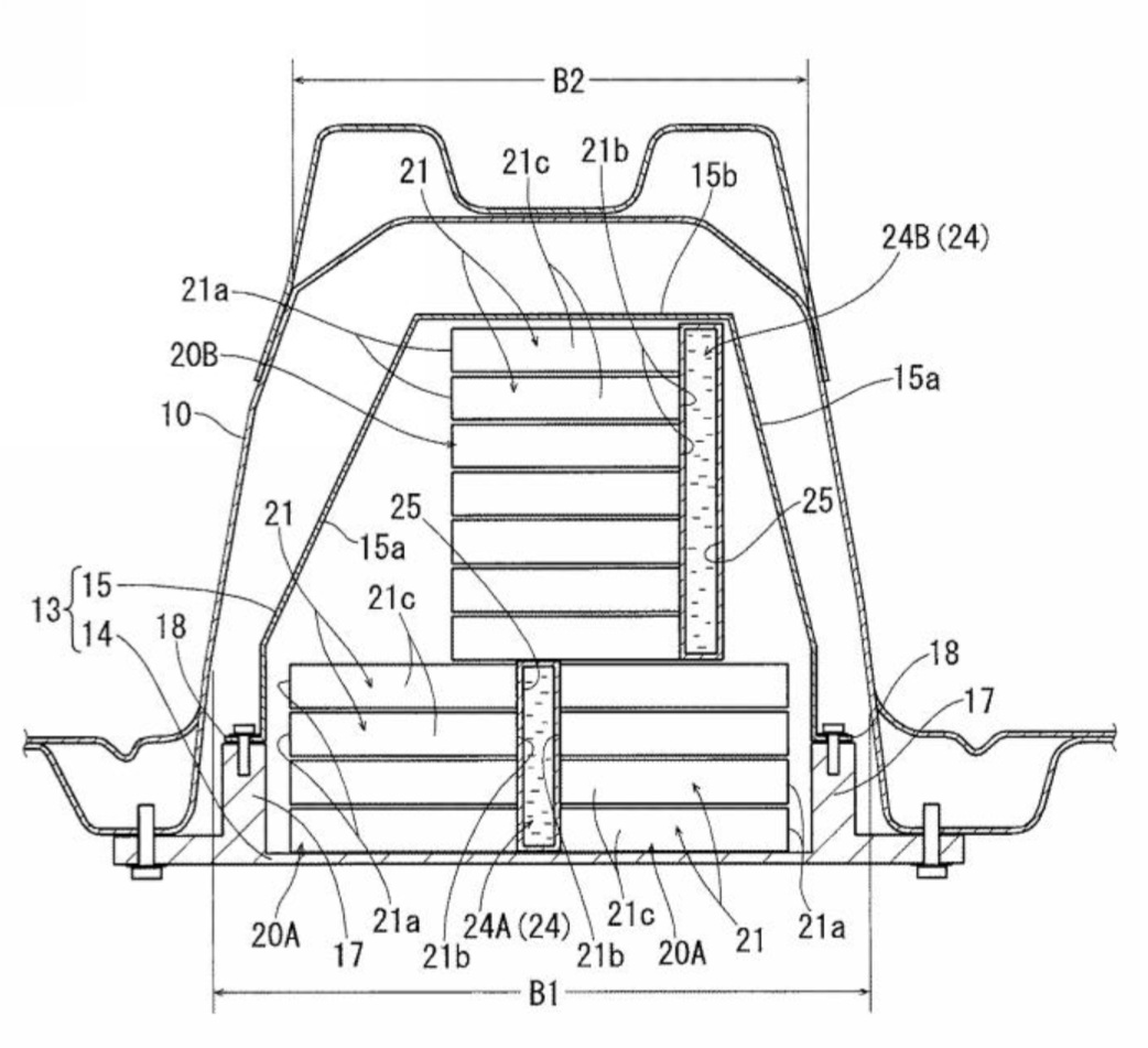
(画像 ipforce.jp) センタートンネル内のプロペラシャフト(No.14)周辺にバッテリー(No.18)を搭載。
②:センタートンネルへのバッテリー搭載方法に関する内容。
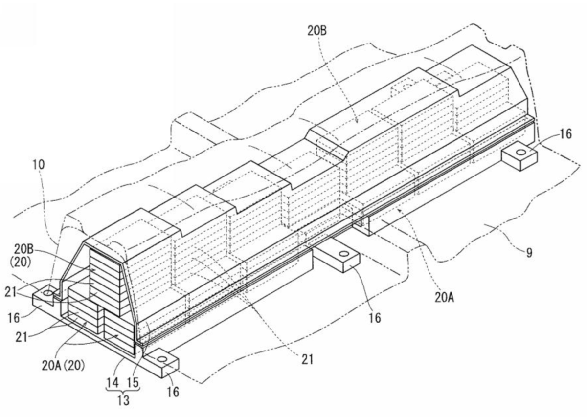
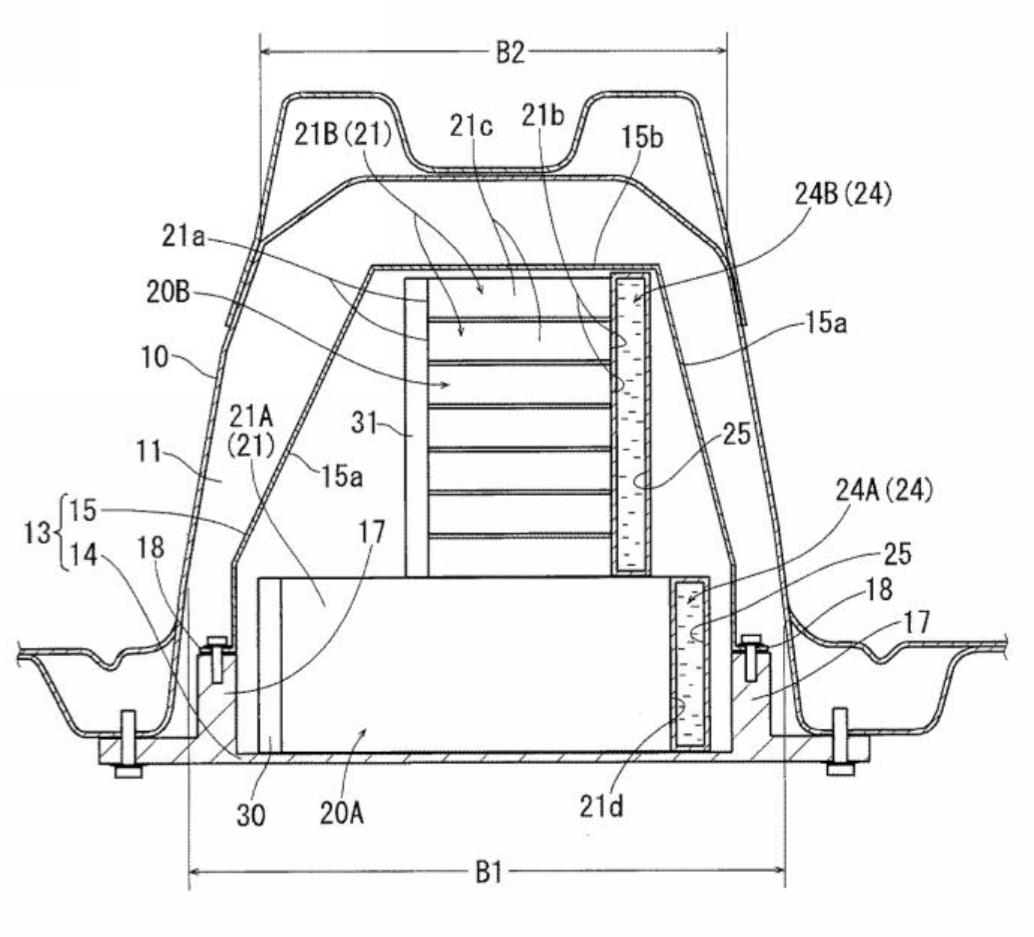
今週新たに公開されたマツダが出願中の特許(2020.11.5) - つらつらとMAZDA
(画像 ipforce.jp) こちらはプロペラシャフトが無い前提になっているのでセンタートンネル空間全体にバッテリーを搭載。
これらの点から思い浮かんだ仮説は・・・
マツダ次世代ラージ群がFRベースなのは、直6エンジンやプラグインHVだけでなくセンタートンネルを生かしたEVやFCVまでも視野に入れているからでは?
マツダが発表しているスモール群とラージ群の棲み分けを再度チェックすると・・・。


最初に触れた通り、EVと水素関連はスモール群向けのマルチxEVのみで資料の限りだとラージ群の予定には含まれていません。
ちなみにマルチxEVは地域の発電・充電環境、さらにエネルギー需要がどのようになっても様々な電動デバイス搭載車で対応可能なのが大きな特徴で、例えるなら将来どのような方向へ傾いてもある程度対応できる”保険”とも言える内容。


これまでのマツダ車と同じ(ロードスターは除く)FFベースのスモール群でも先の将来を見据えてマルチxEVを用意してるのに、プラットフォームや直6エンジンまで新開発という大きな変化になるラージ群に同じような”保険”が無いとは思えないのが正直なところ。
新開発されたプラットフォームやエンジンは10年前後使われる場合が多いので、これから量産車へ展開する場合は2030年前半頃まで視野に入れた設計になってるはずです。
今のところは資料通りに直6エンジンやプラグインHVを中心に展開していくと思われますが、さらに次の世代や想定以上に電動化対応が必要になった場合に備えて「ラージ群版マルチxEV」のような事も考えてるのではないでしょうか?
プラグインHVも電動化対応に大きく役立ちますが、2030年頃から内燃機関自体を禁止しようという議論が一部の国や地域で起きてるのも事実ではあるので(実際に禁止されるかは大きく疑問ですが・・・)
例えばですが・・・・
①:ラージ群プラットフォームのセンタートンネル全体にバッテリーを搭載し、発電用ロータリーエンジンユニットを縦置きにしてリアをモーター駆動にすれば「後輪駆動のマルチxEV」に。
(画像 MAZDA) 発電用ロータリーエンジンユニットは今のところ横置きの予定ですが、ユニット自体がコンパクトなのでフロントミッドシップに縦置きするのも容易・・・?
②:①の構成はそのままでバッテリーの代わりに水素タンクを搭載すれば「居住空間を改善した水素ロータリー車」に。
(画像 MAZDA) 2000年代中盤に登場したRX-8とプレマシーの水素ロータリー車は水素タンクがトランクに搭載されていた関係でラゲッジスペース等が犠牲になっていました。
新型MIRAIのようにセンタートンネル部に水素タンクを搭載すれば解決するかも?
あと、センタートンネルにバッテリーや水素タンクを搭載するメリットとして考えられるのは「最低地上高の確保」
まもなく日本でも発売予定のMX-30 EV仕様も含めてほとんどのEVは車体フロア下一面にバッテリーを搭載しているのが一般的ですが、最低地上高を稼ぐために車高を上げる必要が出てくる事例が多いです。
(下の画像はMX-30 EV仕様のフロア下とバッテリーユニット)



センタートンネルに搭載する事が可能ならば電動化が進んでもセダンやスポーツカーのような車高が低めのモデルを生み出しやすくなるのではないでしょうか?
(電動化とSUVの増加は関連性があるような気も・・・・)
先に妄想した構成で次世代ロータリースポーツが出てくるのも面白いかもしれませんね(笑)
これまで次世代ラージ群がFRである理由を深読みしてきましたが、あくまで個人的妄想なのでご了承ください。
ただ、マツダにとって大きな挑戦である事は間違いないのでまだ明らかになっていない将来を見据えたFR化の理由があるはずと予想しています。
今年の東京モーターショーで新たな発表があるようなのでラージ群に関して発表があるのか楽しみですね。















