
発電用として約10年ぶりに復活したマツダのロータリーエンジンですが、今週新たにロータリーエンジン関連の特許出願が公開されています。
〇特許情報プラットフォーム
まず最初に紹介するのは「ロータリーエンジン」というストレートな題名の内容を3件。
①:2023-78692
https://ipforce.jp/patent-jp-P_A1-2023-78692















〇資料に記載されている特許の目的
(2020年に出願公開されたロータリーエンジンのリセスに関する特許は)リーディング側凹部の容積を大きくすることで火炎の成長を促進し、アドバンス点火および着火遅れ期間の短縮を可能にして、燃焼重心のアドバンス化による熱効率の改善を狙ったものである。
しかしながら、火炎の成長促進は、混合気の燃焼を早めたことで急峻な熱発生を招き得る。そのため、燃焼音、ガス漏れ等が懸念され、さらには冷却損失の悪化に伴って燃費性能の向上を図る上で不利になる。
本開示は、かかる点に鑑みてなされたものであり、その目的とするところは、ロータリーエンジンの燃費性能を向上させることにある。
②:2023-78693
https://ipforce.jp/patent-jp-P_A1-2023-78693














〇資料に記載されている特許の目的
(2020年に出願公開されたロータリーエンジンのリセスに関する特許は)リーディング側凹部の容積を大きくすることで火炎の成長を促進し、アドバンス点火および着火遅れ期間の短縮を可能にして、燃焼重心のアドバンス化による熱効率の改善を狙ったものである。
しかしながら、火炎の成長促進は、混合気の燃焼を早めたことで急峻な熱発生を招き得る。そのため、燃焼音、ガス漏れ等が懸念され、さらには冷却損失の悪化に伴って燃費性能の向上を図る上で不利になる。
本開示は、かかる点に鑑みてなされたものであり、その目的とするところは、ロータリーエンジンの燃費性能を向上させることにある。
③:2023-78856
https://ipforce.jp/patent-jp-P_A1-2023-78856










〇資料に記載されている特許の目的
火炎の成長促進は混合気の燃焼が速くなって熱発生が急になる結果を招く。そのため、燃焼音やガス漏れが懸念され、さらに、冷却損失が大きくなって燃費の向上に不利になる。これを本発明は解決することを課題とする。
本発明は、上記課題の解決のために、圧縮行程上死点付近においてトレーリング側からリーディング側の火炎に向かう未燃混合気の流速を抑えるようにした。
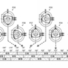
この3件の資料には使用用途が明記されていませんが、2ローターである事に加えてエキセントリックシャフトが前後方向に延びてる(=縦置き搭載)事から「駆動用ロータリーエンジン」に関する内容が有力です。
まず特徴的なのは直噴システムを採用してるのに加えて、スパークプラグが1本である事(RX-7・RX-8等に搭載された13B型はポート噴射でスパークプラグは2本)


そして、この3件でもう一つ特徴的なのはローター外周面にある「リセス(凹み)」
13B型を中心にこれまで登場した駆動用ロータリーのリセスは基本的に上下対称な長方形でしたが、今回の3件はいずれも非対称でリセス形状も独特なものになっています。




ちなみに、MX-30 R-EVに搭載される発電用ロータリーエンジン「8C型」も似たようなリセス形状が採用されているので、今回公開された3件は8C型と同じ知見やノウハウを生かして駆動用へ発展させたエンジンなのかもしれませんね。
ただ、圧縮比に関しては8C型の11.9より低い「9.7以上」と明記されていますが、これは駆動用である事に加えて過給機の採用を視野に入れてる可能性も考えられます。
(圧縮比の一例:FD型RX-7⇒9.0、RX-8⇒10.0)
マツダが発電用ロータリーエンジン搭載のPHEV「MX-30 R-EV」を正式発表したので内容を詳しくチェック!(追記あり) - つらつらとMAZDA


続いて紹介するのは「エンジンの吸気構造」という題名の内容を3件。
①:https://ipforce.jp/patent-jp-P_A1-2023-78740
②:https://ipforce.jp/patent-jp-P_A1-2023-78741
③:https://ipforce.jp/patent-jp-P_A1-2023-78742










〇資料に記載されている特許の目的
①:本発明は、エンジン本体周りに吸気通路をコンパクトに配設しつつ吸気とEGRガスの混合を促進できるエンジンの吸気構造を提供することを目的とする。
②と③:本発明は、吸気通路の振動をより確実に抑制できるエンジンの吸気構造を提供することを目的とする。
こちらは発電用の1ローターエンジンに関する内容ですが、説明図や文章を見るとエンジンを"縦置き"にする事が前提になっています。
今年発表されたMX-30 R-EVの発電用ロータリーエンジンは横置きなのに加えて、発電用ロータリーエンジンを縦置きにしたマツダの特許も初めてだったはずなのでかなり興味深い内容・・・。


さらに説明図のオレンジ部分を見ると縦置きにも関わらず排気経路が前方へ延びているのも気になるところです(MX-30 R-EVは横置きで前方排気)
発電用エンジンなので排気経路やプロペラシャフトを通すためのフロアトンネルが無いEV専用アーキテクチャーへ搭載する事を考えてるのかもしれませんが、色々妄想が膨らむ内容ですね。
今週新たに公開されたロータリーエンジンに関するマツダの特許は以上となりますが、マツダはこれ以外にも「3ローターエンジン搭載のスポーツカー」に関する特許なども出願しているので、様々な仕様や活用方法を検討・模索しているのは間違いなさそうですね・・・。
MX-30 R-EVは今年中に欧州と日本で発売開始される見込みですが、その後の展開も楽しみに待ちたいと思います。