つらつらとMAZDA

マツダに関する備忘録的ブログ。

2025-05-18から1日間の記事一覧

今週新たに公開されたマツダが出願中の特許(2025.5.18)

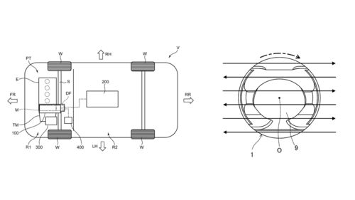
(画像 IP Force.jp) 今週新たに公開されたマツダが出願中の特許は6件でしたが、その中から気になった内容を紹介したいと思います。