今週新たに公開されたマツダが出願中の特許は24件。

その中から気になった内容を取り上げます。
まずは次世代ラージ群と関係性が強そうな内容を2つ。
「車両の前部構造」
特開2020-196371 | 知財ポータル「IP Force」
「エンジンの排気構造」
特開2020-197174 | 知財ポータル「IP Force」
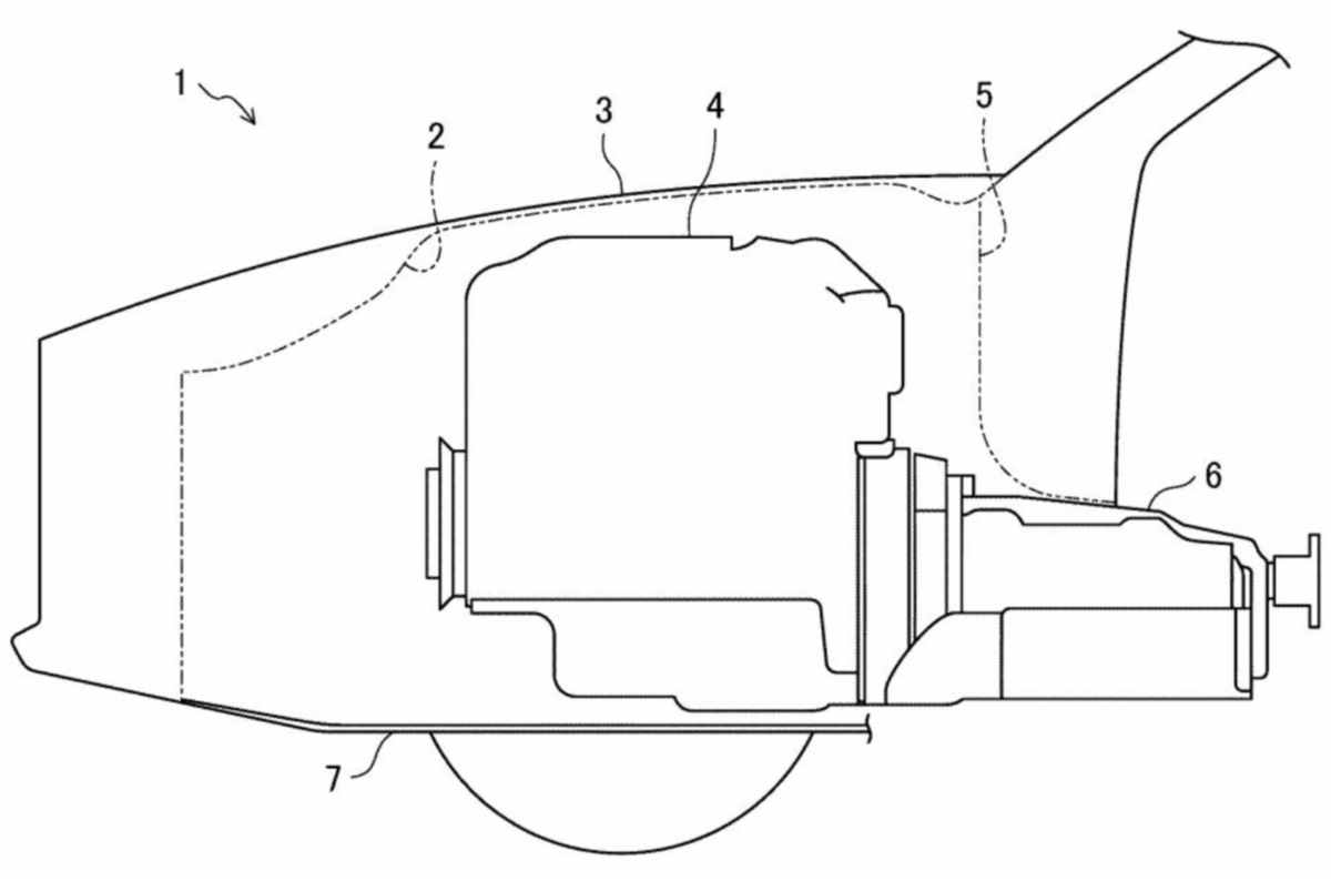
(資料に掲載されている説明図は共通です)








こちらは「縦置きに搭載したディーゼルエンジン」に関する内容です。
2枚目の説明図では車体も描かれていますが、かなり大まかなので実際の量産モデルとは違う可能性が高そうです。
今回の資料にはエンジンの気筒数は書かれていませんが、先日マツダが発表した直6ディーゼルエンジンと思われる実物画像と比較すると・・・。


かなり似ているので今回の特許も直6エンジンに関係する内容だと思われます。
資料に記載されている特許の目的は・・・・
特開2020-196371 | 知財ポータル「IP Force」
エンジンを車両前部のエンジンルームに気筒列方向が車両前後方向に延びる縦置きの姿勢で搭載するとトランスミッションはエンジンの後方に配置されることになる。
その場合、エンジンルームに入る走行風はエンジンに遮られるからトランスミッションには当たりにくくなる。
その走行風はエンジンによって加熱されて車両後方へ流れるため走行風によるトランスミッションの冷却が難しくなる。
特に、縦置きエンジンと触媒装置が車幅方向に並ぶようにエンジンの側方に触媒装置を配置した場合、縦置きエンジンの排気マニホールド側及び触媒装置によって加熱された走行風が車両後方へ流れる。
その一方で、車両走行中は触媒装置自体もその温度が過度に上昇して触媒の劣化を招くことがないように、走行風によって冷却したいという要求がある。
そこで、本発明は縦置きエンジンの側方に触媒装置を配置するケースにおいて、車両の走行風によって、トランスミッション及び触媒装置を効率良く冷却することを課題とする。
特開2020-197174 | 知財ポータル「IP Force」
車両を停車状態にしたときはエンジンの停止に伴ってその温度が低下する。
そうするとエンジンの側方に配置された触媒装置は温度が低いエンジン側に熱を奪われて温度が下がっていく。その場合、車両走行のためにエンジンの稼働を再開したとき触媒装置の温度が低くなっていて、排気ガスを効率良く浄化することができないことが懸念される。
そこで、本発明は、エンジンの側方に配置した触媒装置が温度の低いエンジンによって熱を奪われて温度が低下することを抑制する。
続いては「車両駆動装置」という題名の内容。
特開2020-198714 | 知財ポータル「IP Force」









このブログでも複数回取り上げてきた「インホイールモーターを搭載したFRベースのプラグインハイブリッド車」に関する内容です。
・直4エンジン搭載のFR車両。
・48Vプラグインハイブリッド。
・フロントにインホイールモーター搭載(No.20)
・トランスアクスル機構(No.14b)
・フロアトンネル部にリチウムイオンバッテリー搭載(No.18)
資料に記載されている特許の目的は・・・・。
従来の車両用電源装置は単に2つの電源電圧を供給するだけであり、高圧電源よりも高圧な電源を必要とする負荷には電力供給することができない。
より高圧な電源を供給するには、蓄電素子の数を増やすか高価なDC/DCコンバータを付加的に設ける必要がある。
そして、このように改変すると、車両の重量増やコスト増という問題が生じる。
従って、本発明は軽量で且つ簡易な構成で少なくとも3つの電源電圧を供給する車両駆動装置を提供することを目的としている。
インホイールモーター搭載のFR車に関する特許出願はこれまでにも取り上げているのでよろしければチェックしてみてください。
今週気になった内容は以上となります。
来週以降も気になった内容があれば取り上げていきたいと思います。