
2025年もまもなく終わるので、今年ブログで取り上げた内容を「特許・商標・意匠」と「マツダ全体」に分けて振り返ってみたいと思います。
「特許」
〇1月~3月
2025年最初に取り上げたのは1月5日に中国で公開された「4人乗りで車体が薄いモデルも視野に入れたプラグインハイブリッド」に関する特許出願で、1月中旬には日本でも同じ特許出願が公開。
インパネの一部がラージ商品群SUVと同じだった事から、ラージ商品群のセダン/クーペを検討してるのでは?という期待が高まりました。




そして、2月には「ルーフに冷却水を通して暖気促進や空調性能向上を目指して車体構造」に関する特許出願が公開されましたが、冷却水の配管をルーフに通している説明図はなかなか反響が大きかった記憶があります。
これ以外にも発電用ロータリーエンジンやEV専用プラットフォームに関する特許も公開・登録されましたが、昨年に続いて2025年も公開件数が少ないスタートでした。


〇4月~6月
この時期は「重量バランスやヨー慣性モーメント低減を重視したBEV」に関する特許出願が米国と日本で公開されましたが、説明図に2ドアクーペが描かれてる事や、バッテリーを助手席足元/シート裏に搭載する構造である事からスポーツカーを検討してそうな特許でした。



5月には2027年に新型CX-5から搭載予定の「新型ストロングハイブリッド」「SKYACTIV-Z」関連かもしれない特許出願が公開されましたが、6月には「SPCCI燃焼を採用した直6ガソリンエンジン」の特許出願も公開。
マツダはSKYACTIV-Zの燃焼技術を直6エンジンやロータリーエンジンにも生かす事を示唆してるので、その取り組みに関する特許化もしれません。




〇7月~9月
2025年夏は次世代エンジンを考えてそうな内容が多く公開された時期で、7月は「ツインプラグとSPCCI燃焼を採用したエンジン」、8月は「水噴射装置を備えたガソリンエンジン」「燃料改質システムと6ストロークエンジン」に関する特許出願が公開。
かなり思い切った内容もありますが、様々なアプローチでエンジン開発・改良を行ってるのは間違いなさそう・・・。
そして、9月には再び「横置きエンジン用ストロングハイブリッド」に関する特許出願が公開されましたが、説明図に描かれているトランスミッションが既存の6速ATより明らかに小型だったのは気になるところ・・・。
横置き用ATを新開発してる可能性もありますが、トランスミッション開発にはリソースやコストがかなり掛かるはずですからね・・・。


あと、この時期は3年ほど前に出願公開された「ツインプラグを採用したRotary-EVシステム」と「静電センサーを採用したマツダコネクトの操作系」に関する特許も登録。
マツダコネクトの操作系に関してはどのように進化するのか気になっていましたが、新型CX-5はGoogle搭載によってほぼタッチパネルに集約されてしまいましたね(遠い目・・・)
〇10月~12月
10月以降は公開件数がようやく増加傾向に入っていて、2023年に出願公開されていた「13Bとは異なる構成の2ローターロータリーエンジン」に関する特許が10月に登録。
非対称形状のリセス(ローターの窪み)やスパークプラグが1本である事から、駆動用では無く発電用の可能性も考えられます。


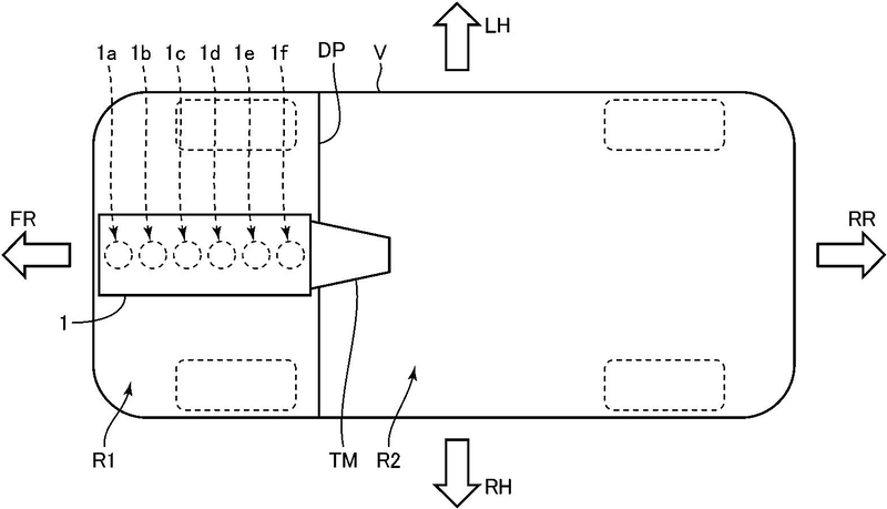
続いて11月には「クォーターピラーにダクトを採用した車体構造」に関する特許出願が米国と欧州で公開。
この構造は今年中国で発売された「EZ-60」に採用されましたが、この特許はラージ商品群SUVに似ている車体が描かれているのが特徴的でした。
この特許は空力性能・航続距離延長をシンプルなエクステリアで実現させる事を目標にされてるので、今後採用例が増えてくるかも・・・?


11月はこれ以外にも車体構造に関する特許出願が多く公開された時期で、ブログでは「ラゲッジルーム下部にバッテリーを搭載した車両」「フロア部分に三角形のフレームを採用した車体構造」「非接触充電器を備えたBEVの車体構造」を紹介。
緑の2つは2027年投入予定のEV専用プラットフォーム関連が有力ですが、現行のマツダ車と異なるバッテリー搭載位置の特許出願は1月にも公開されていたので、SUV以外の車種も視野に入れてるのでしょうか・・・?






12月はパワートレインに関する特許出願が多く公開されましたが、ここでは「3気筒ガソリンエンジンも視野に入れた排気浄化装置」「トルクコンバーター採用を視野に入れた縦置き用8速AT」「電動アシストターボも視野に入れた直4ガソリンターボエンジン」を紹介。
特に3気筒ガソリンエンジンに関してはトヨタとマツダが共同出願しているのが中々興味深かったですね・・・。






そして、12月だけでなく2025年全体でも一番興味深かった特許出願が「一体成型アルミダイキャスト(ギガキャスト?)を採用した車体構造」に関する内容。
フロントとリアの車体フレームを一体成型する事を目指しているだけでなく、説明図に描かれている車体が2ドアクーペなのもかなり興味深い特許でした。
これまで見た限りだとマツダは引き続き既存の製造設備・能力をフル活用する方針だったはずですが、水面下ではギガキャスト導入も検討してるのかもしれません。




「商標」
「MAZDA6e」(1月)
「謎のマーク」(1月)
「泡つや」(2月)
「MAZDA 2e」「MAZDA 3e」「CX-5e」「CX-6e」(2月)
⇨CX-6eは中国で今年発売された「EZ-60」の欧州仕様名が有力か?
「MAZDA SMILE PROJECT」(3月)
⇨マツダが行っている社会貢献活動の名称。
「マツロジ」(5月)
「技術って、愛だ」(6月)
⇨6月頃から展開されているSUVシリーズ宣伝フレーズ
「マツダ小磯kitchen」(7月)
⇨現在広島市南区小磯町で建設中の新しい社員寮関係が有力?
「MAZDA KOKORO」(9月)
⇨メキシコマツダが行っている子供向け社会貢献プロジェクトの名称。
「MAZDA E/E ARCHITECTURE+」「走りたい。 を、つくりたい。」(11月)
今年も様々な商標が出願されましたが、2月に公開された「MAZDA 2e」「MAZDA 3e」「CX-5e」「CX-6e」に関してはMAZDA6eに続く電動化モデル名の予感もしますが、今のところEZ-60の欧州仕様名と思われる「CX-6e」以外は商標保護を目的に出願されてる可能性も・・・。
「意匠」
「EZ-6/MAZDA6eのアルミホイール」
(BEVモデル用)
(レンジエクステンダー用)
「ICONIC SP関連」
(フロントグリル/ヘッドライト/メーターパネル)
(ボディサイドパネル)
「新型CX-5関連」
(19インチアルミホイール)
(シグネチャーウイング)
「秘密意匠(内容非公開)」
昨年に続いて「EZ-6/MAZDA6e」と「ICONIC SP」に関する意匠も複数登録されましたが、今年発表された「新型CX-5」関連も早速2件登録。
その一方でまだ発表されて無い新型車に関係する場合が多い秘密意匠は国内外で27件も登録されました。
もちろん秘密意匠の中には新型CX-5やEZ-60関連も含まれてる可能性がありますが、昨年から未公開のままになってる秘密意匠もあるので、新しいデザインや表現が色々検討されてるかも・・・?
2025年に取り上げたマツダの特許・商標・意匠を簡単に振り返ってみましたが、参考までに今年公開されたマツダの特許件数がこちら。
◎出願公開件数・・・・285件(2024年:147件)
◎登録件数・・・・・・459件(2024年:503件)
出願公開件数に関しては1000件を超えた2019年から減少傾向が続いていて、昨年は特に大幅減少していましたが、今年は久しぶりに前年比で増加。
これはコロナ禍が落ち着いて研究/開発・出願手続が従来に近いペースへ回復した事が理由と思われます。
出願される内容としては引き続きEV専用プラットフォーム関連と思われる内容が多いですが、2025年後半は次世代エンジンを意識してそうな内容が増えてきた印象も・・・。
これは世界各国でBEV需要鈍化や内燃機関回帰の動きが出ている事も関係してるかもしれませんね。
個人的には2ドアクーペも視野に入ってそうな「一体成型アルミダイキャスト(ギガキャスト?)」に関する特許の行方が気になる・・・。
そんな事も考えながら明日はマツダ全体の1年を振り返ります。
令和6年能登半島地震災害・9月21日豪雨被害の義援金受付関連。
(全て令和9年3月31日まで受付)
◎石川県公式HP
・地震災害用リンク
令和6年(2024年)能登半島地震に係る災害義援金の受付について | 石川県
・豪雨被害用リンク
・富山県公式HP
・新潟県公式HP