
件数が少ない状況が続いているマツダの特許出願ですが、今週は気になる内容が公開されました。
〇特許情報プラットフォーム
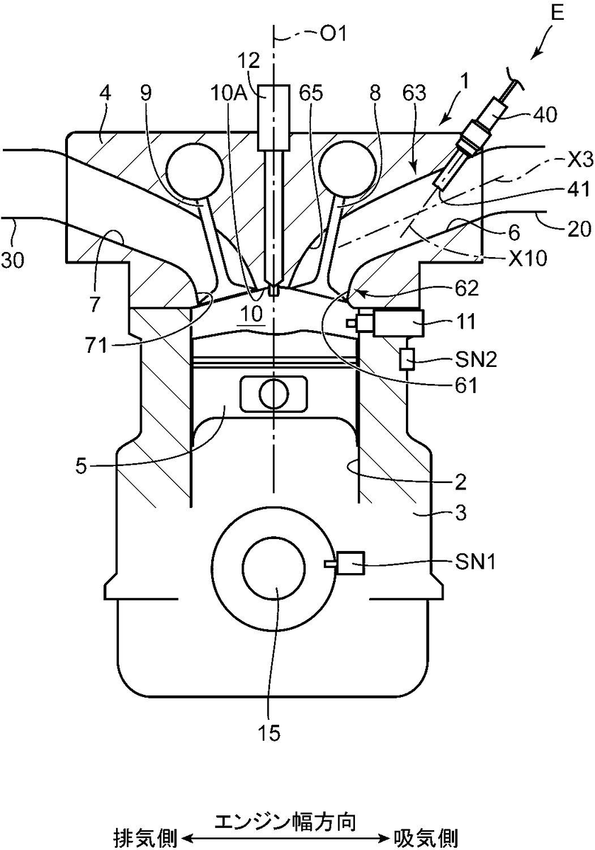
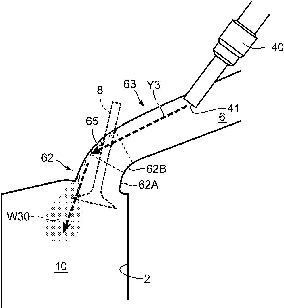
今回取り上げるのは「水噴射式エンジン」という題名の特許出願。
①:2025-117664 | 知財ポータル「IP Force」
②:2025-117665 | 知財ポータル「IP Force」




















☆資料に記載されている特許の目的
①
車両に搭載されるエンジン等において、燃焼室内の温度が過度に高くなるのを防止するために、燃焼室内に水を供給することが検討されている。
吸気ポートに水を噴射する構成では、燃焼室内に直接水を噴射する構成に比べてオイル希釈が抑制されやすい。具体的に、燃焼室内に直接水が噴射される構成では、燃焼室において水が勢いよく拡散することで、ピストン冠面に水が付着して当該水がピストンを潤滑するオイルに混入しやすくなる。これに対して、吸気ポートに水を噴射すれば、ピストン冠面への水の付着が抑えられる。
しかしながら、吸気ポートに水を噴射する構成においても、吸気ポートの壁面をつたって気筒の内周面に水が付着するという問題がある。また、単に吸気ポート内に水を噴射する構成では、噴射された水が吸気ポートの壁面等から熱を受けて昇温するおそれがある。燃焼室に導入される前に水の温度が上昇すると、水による燃焼室の温度低下効果は小さくなる。
本発明は、前記のような事情に鑑みてなされたものであり、オイル希釈を抑制しつつ水による燃焼室の温度低下効果を高めることが可能な水噴射式エンジンを提供することを目的とする。
②
従来より、車両に搭載されるエンジン等において、燃焼室内に水を導入するために水を噴射する水噴射弁を設けることが検討されている。
燃焼室内に水を導入すれば、水の気化潜熱によって燃焼室内の温度を低減してノッキングの発生を抑制できる。しかしながら、燃焼室内に水を導入すると、ピストン冠面や燃焼室の内周面に水が付着し、当該水がピストンを潤滑するオイルに混入することでオイル希釈が生じるおそれがある。
本発明は、前記のような事情に鑑みてなされたものであり、オイル希釈を抑制しつつノッキングを抑制することが可能な水噴射式エンジンを提供することを目的とする。
こちら2件は題名通り「水噴射装置を備えたガソリンエンジン」に関する特許出願で、エンジンオイル希釈・水温上昇・ノッキングを抑制されるのが主な目的。
水噴射装置を備えたエンジンに関するマツダの特許出願は2018年~2021年頃にかけて複数公開されましたが、ここ数年は出て無かったはずなので約4年ぶりに公開された形になります。
これまで取り上げた水噴射装置の特許出願では様々な仕様のエンジンが組み合わされてましたが、今回の特許出願は【水噴射装置は吸気ポートに配置】【スパークプラグを装備した直4ガソリンエンジン】【燃料噴射装置は燃焼室のサイド】という初めての構成でした。


もちろん現行のマツダ製ガソリンエンジンに水噴射装置は採用されてないので、2027年に登場予定とされている次世代ガソリンエンジン"SKYACTIV-Z"に関係する可能性がありますが、マツダはアフォーダブルな価格を実現するために出来る限りシンプルなシステム構成を目指しているようなので、水噴射装置を採用する場合のコストがどれほどなのか気になるところ・・・。
ただ、今後排ガス規制が厳しさを増すのは間違いないので、"SKYACTIV-Zの改良"で採用する可能性もあるかもしれませんね・・・。

☆2018年~2021年頃に公開された水噴射エンジンに関する特許出願の一例
ここ最近公開件数が少ない状況が続いているマツダの特許出願ですが、その中でも「SPCCI燃焼を使った直6エンジン(6月)」や「SPCCI燃焼とツインプラグを採用したエンジン(7月)」に関する特許出願が公開されてるので、次世代ガソリンエンジンの開発も着々と進んでるはず・・・。
今後関連特許が増える事も十分あり得るので引き続き注目しておきたいと思います。
令和6年能登半島地震災害・9月21日豪雨被害の義援金受付関連。
◎石川県公式HP
・地震災害用リンク(令和7年12月26日まで受付)
令和6年(2024年)能登半島地震に係る災害義援金の受付について | 石川県
・豪雨被害用リンク(令和7年3月31日まで受付)
・富山県公式HP(令和7年3月31日まで受付予定)
・新潟県公式HP(令和7年12月26日まで受付予定)