
今月は公開件数が少し増えているマツダの特許関連情報ですが、2022年末に出願公開されていた内容が最近登録されました。
〇特許情報プラットフォーム
今回新たに登録されたのは2022年12月に出願公開されていた「電動車両の制御装置」という題名の特許。
☆2022年12月に取り上げたブログ記事。
https://ipforce.jp/patent-jp-P_B1-7725874











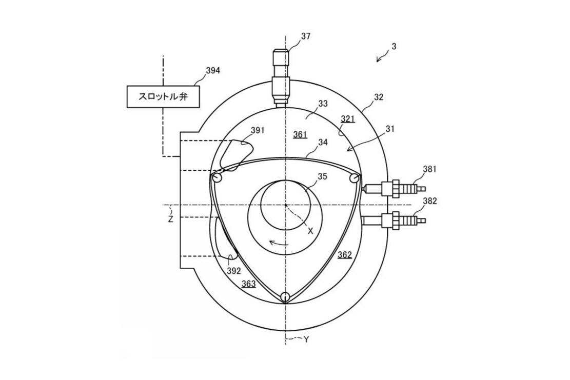
☆資料に記載されている特許の目的
エンジンを始動する際にエンジンの回転位置が適正でないと、エンジンに供給した燃料が着火しなかったり、始動完了までに時間がかかったりする。
そこで、エンジンを始動する前に、エンジンの始動に用いるモータを使って、エンジンの回転位置を適正な位置に調整することが考えられる。
しかしながら、エンジンの始動前はバッテリのSOCが低下しているため、回転位置の調整のために、バッテリの電力を消費することは好ましくない。
ここに開示する技術は、エンジンの回転位置を適正な位置にして、エンジンを始動する。
こちらは発電用ロータリーエンジンの始動を安定化させる事を目指している特許ですが、まず特徴的なのは「スパークプラグが2つ採用されてる事(ツインプラグ)」
MX-30 Rotary-EVに搭載されている発電用ロータリーエンジン"8C型"はスパークプラグが1つですが、この特許は発電用にも関わらずRX-7/RX-8に搭載されていた"13B型"と同じ本数になっています。
8C型は使用するエンジン回転数が限られてる事やノッキング低減の目的から1本になってるようですが、2つ採用する事で更なる高出力化(発電量UP)を目指してるでしょうか・・・?

さらにこの特許でもう一つ気になるのは「ロータリーエンジンやモーターが"縦置き"されてる可能性があるかも?」という点。
MX-30 Rotary-EVはエンジンやモーターがフロント横置き搭載されていましたが、今回の特許の説明図では走行用モーターと変速機が縦置きで描かれている事に加えて、ロータリーエンジンの構造図についても"前から見た場合の内部構成"と説明。
あくまで特許説明図なので大まかに描かれている可能性も十分ありますが、1枚目の説明図では車軸上にデファレンシャルギアのような部分もあるので縦置きに見えなくもない・・・?


いつも通り"あくまで特許"ではありますが、マツダはこの特許が出願公開された翌年に次世代ロータリースポーツコンセプト「ICONIC SP」を発表したのに続いて、2024年2月にはロータリーエンジン開発グループが再始動。
今後より厳しくなるエミッションにも適合する目途が立ってきただけでなく経営陣からも量産化に前向きな発言が出ているので、今後こそ次世代ロータリースポーツ市販化が実現する事に期待が高まります。
もちろん既存のRotary-EVシステムの進化や搭載車種増加も期待したくなるので、今後も関連する特許が出願されるのか注目ですね。
令和6年能登半島地震災害・9月21日豪雨被害の義援金受付関連。
◎石川県公式HP
・地震災害用リンク(令和7年12月26日まで受付)
令和6年(2024年)能登半島地震に係る災害義援金の受付について | 石川県
・豪雨被害用リンク(令和7年3月31日まで受付)
・富山県公式HP(令和7年3月31日まで受付予定)
・新潟県公式HP(令和7年12月26日まで受付予定)