
本来なら特許出願が公開されるのは毎週木曜日ですが、先週は4連休だった事もあって本日情報が更新されました。
マツダが出願中の特許も新たに10件公開されたのでその中から気になった内容を取り上げます。
まずは「車両の後部車体構造」という題名の内容。












〇資料に記載されている特許の目的
この発明は、バンパレインフォースメントに牽引フック取付け部材を設けることによる衝撃吸収部材の損傷を回避しつつ、樹脂製の荷室構成部材本体における強度不足を補完しながら牽引フック取付け部材を取付けることができる車両の後部車体構造の提供を目的とする。
こちらは牽引フック取り付け時の損傷回避と強度確保の両立を目指している内容ですが、まず注目すべきは「トランク開口部の形状」


開口部が上を向いてるのでスポーツカー(例:ロードスター)やセダン(例:MAZDA6)が思い浮かびますが、今回の説明図はスポーツカーを想定してる可能性がより高そうに思います。
さらに注目すべきは「開口部24には、図示しないリヤウインドウガラスがその上端を枢支部として開閉するように取付けられている」という一文。

そのまま読むと「赤丸部分の真上に枢支部(=ヒンジ)が備わっている開閉可能なリアウインドウ」と解釈することも出来ますが、そうなると思い浮かべるのは「RX-7」



歴代モデルでボディサイドまで回り込む大型リアウインドウを採用し、ルーフ側にヒンジが備わっている開閉方式でした(SA22型はリアウインドウ中央部のみ開閉)
これらの点から今回の特許出願は”次世代ロータリースポーツ”を視野に入れた内容なのでは?という想像も膨らみます。
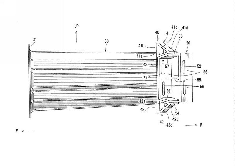
今回は「車両の車体構造」という題名で1つ目と関連性の強い特許出願が同時公開されています。
特開2021-104790 | 知財ポータル「IP Force」










〇資料に記載されている特許の目的
この発明は、バンパレインフォースメントおよび衝撃吸収部材のそれぞれの性能要求から、その上下方向長さに差異が生じた場合においても、衝撃吸収部材に対して衝突荷重を確実に伝達することができる車両の車体構造の提供を目的とする。
両方の内容ともにアルミ押出し材を使用して軽量化やヨー慣性モーメントの低減を目指していますが、マツダはすでに「押出し成形によるアルミ製スペースフレーム」の特許を複数出願済み。
〇2019年10月31日出願公開
〇2019年12月19日出願公開
〇2021年6月24日出願公開
この中で2019年10月31日に出願公開された内容2件が今月無事に特許を取得しています。
〇特許番号6907996
〇特許番号6907997
本格的なスポーツカーを視野に入れてそうな特許出願がここまで定期的に出てくると水面下では何か開発が動いているのでは?なんて妄想も膨らみますが実際はどうなのか・・・。
今週は木曜日にも特許出願情報が更新される可能性もあるので引き続き気になるマツダの特許・出願を取り上げていきたいと思います。