
先日、欧州で「スポーツカー用と思われるトランスアクスル」の特許出願が公開されてる事を取り上げましたが、この内容が日本でも本日出願公開されていました。
欧州で公開されていた特許出願を取り上げたブログはこちら。
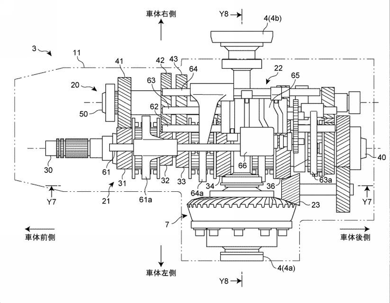
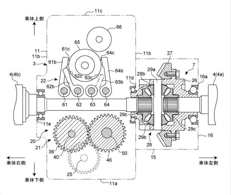
トランスアクスルという機構や説明図から次世代スポーツカー(ロータリー?)を意識した特許出願と推測されますが、この内容が日本でも出願公開されたので改めてチェックしていきます。
日本では4件に分けて公開(説明図は全て共通)
〇1件目 特開2022-42340 | 知財ポータル「IP Force」
〇2件目 特開2022-42341 | 知財ポータル「IP Force」
〇3件目 特開2022-42342 | 知財ポータル「IP Force」
〇4件目 特開2022-42343 | 知財ポータル「IP Force」













〇資料に記載されている特許の目的
(1件目)
(トランスアクスルを採用する車両において)車体後部に配置される変速機がドライブシャフトより車体前側に配置される場合、車室空間が狭くなって乗員の居住性を低下させるおそれがある。
これに対し、ドライブシャフトより車体後側に変速機を配置することが考えられるが、車体後側のオーバーハングが大きくなって操縦安定性の低下を引き起こし得る。
そこで、本発明は、縦置き式の変速機を備えた車両において変速機が車体後部にドライブシャフト近傍に配置される場合に、乗員の居住性と操縦安定性との両立を図ることができる車両の動力伝達装置を提供することを課題とする。
(2件目)
(トランスアクスルを採用する車両において)車体後部に配置される変速機がドライブシャフトの車体前側に配置される場合には車室空間が狭くなることからドライブシャフトの上方に変速機を配置することが考えられるが、変速機によって車両の重心位置が高くなって操縦安定性の低下を引き起こすおそれがある。
一方、変速機をドライブシャフトの下方に配置すると、地面との隙間が小さくなってスポーツタイプの車両などにおいて地上高を確保することが難しくなる。
そこで、本発明は、縦置き式の変速機を備えた車両において変速機が車体後部にドライブシャフト近傍に配置される場合に、地上高を確保しつつ操縦安定性を向上させることができる車両の動力伝達装置を提供することを課題とする。
(3件目)
(トランスアクスルを採用する車両において)車体後部に配置される変速機がドライブシャフトより車体前側に配置される場合、車室空間が狭くなることからドライブシャフトの上方に変速機を配置することが考えられるが、限られた車体後部のスペースに変速機とドライブシャフトとを車体上下方向にコンパクトに配置することが望まれる。
そこで、本発明は、縦置き式の変速機を備えた車両において変速機が車体後部にドライブシャフト近傍に配置される場合に、変速機及びドライブシャフトを車体上下方向にコンパクトに配置することができる車両の動力伝達装置を提供することを課題とする。
(4件目)
本発明は、縦置き式の変速機を備えた車両において変速機が車体後部にドライブシャフト近傍に配置される場合に、地上高を確保しつつ操縦安定性を向上させると共にドライブシャフトと変速機とを組立性良く配置することができる車両の動力伝達装置を提供することを課題とする。
日本で公開された資料を見ると今回出願されたトランスアクスルは6速MTをベースにアクチュエーター(モーター)によって変速させる事が前提のようですが、純粋なMTへの適応も可能との事。
さらに、日本で公開された資料では「(生産ラインにおける)組立性」まで視野に入れた内容が出願されてるのも注目ですね。
欧州で公開された内容を取り上げた時にも触れましたが、トランスアクスルは高性能スポーツカーでの採用例が大半である事から今回の特許出願は「次世代ロータリースポーツ」を視野に入れた内容の可能性が高そうです。
ちなみに、RX-VISIONが世界初公開された2015年東京モーターショーのプレビューデーでも"とある役員さん"がRX-VISIONのリアバンパー奥を指さしながら「トランスアクスルという機構がありまして・・・(コンセプトカーなのであくまで仮定)」と話されてたので・・・(笑)
いつも通り"あくまで特許"ではありますが、アルミ製スペースフレームや3ローターエンジンなどに関する特許が定期的出てきてるので期待したくなりますね。