
あまり目立った動きが無い状況が続いているマツダの特許情報ですが、今週は中々興味深い内容が登録されています。
〇特許情報プラットフォーム
今週新たに登録されたのは2022年8月に出願公開されていた2件の特許。
(2022年8月に取り上げたブログ記事)
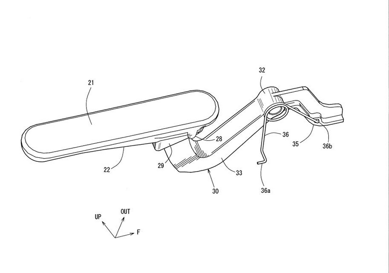
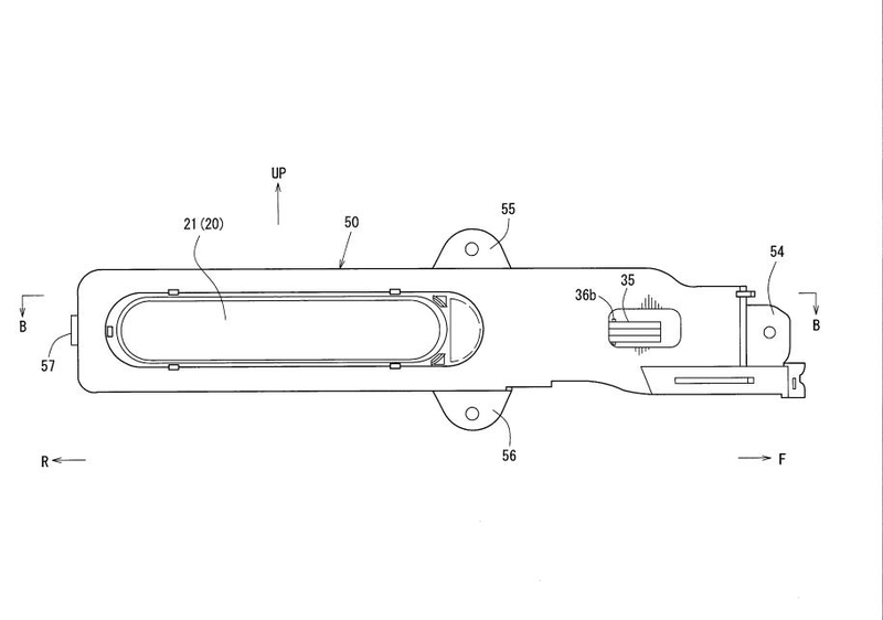
①「車両のドアハンドル構造」














〇資料に記載されている特許の目的
本発明は、電動で回動するスワンネックタイプのヒンジアームを備えた構造において、大慣性力発生時に、ドアアウタパネルの外側へのレバーの振出を抑制するカウンターウェイト機能を成立させることができる車両のドアハンドル構造の提供を目的とする。
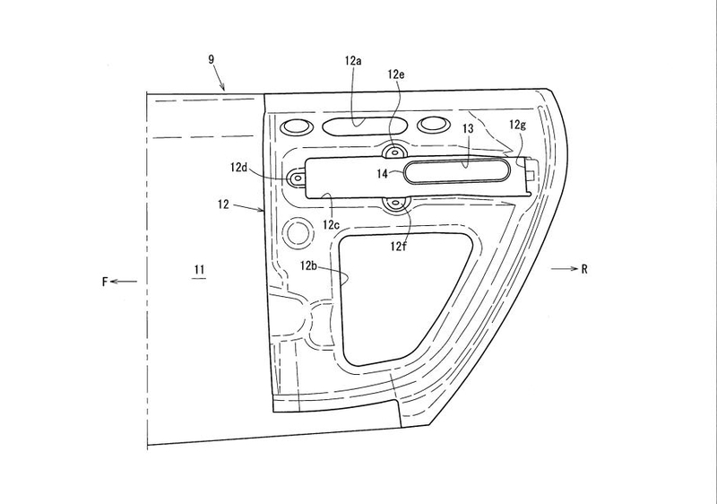
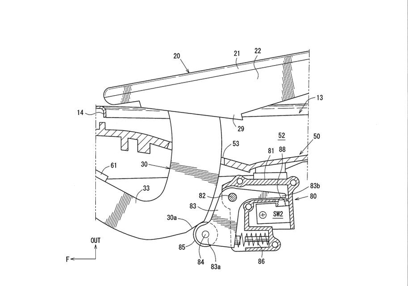
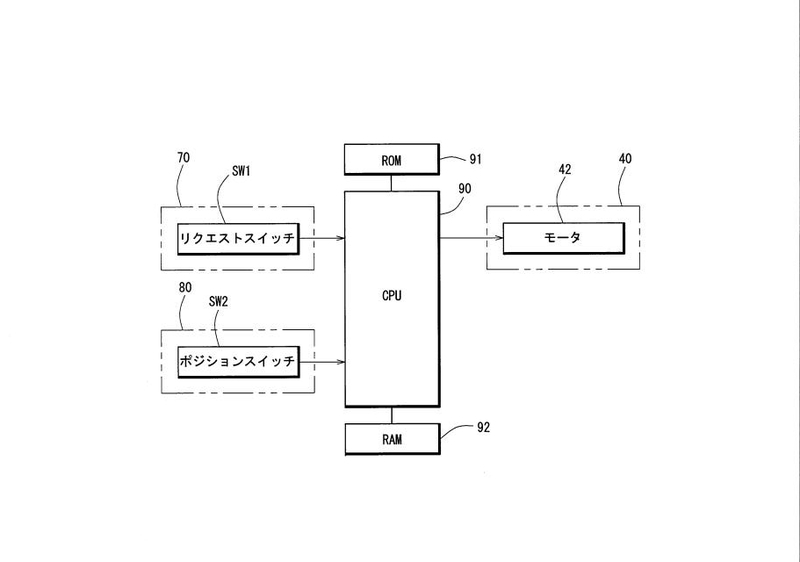
②「車両のドアハンドル制御装置」













〇資料に記載されている特許の目的
この発明は、駆動装置に負荷をかけることなく、レバーの把持位置を維持することができ、駆動装置に対する負荷低減を図ることができる車両のドアハンドル制御装置の提供を目的とする。
こちら2件は「格納式ドアハンドル」に関する特許ですが、資料では4ドア・2ドア車両方を視野に入れてる事が明記されています。
格納式ドアハンドルはプレミアムブランドやBEVモデルを中心に採用車種が増えていますが、採用理由としてはドアパネルとの段差が無い美しいデザインだけでなく空力改善や風切り音低減の目的もあるようですね(フラッシュサーフェイス化)
マツダもこれまで「NAロードスター」や「FD型 RX-7」でフラッシュサーフェイス型に近いドアハンドルを採用してきましたが、今回の特許のような解錠時にレバーが自動で出てくる構造はこれまで量産車で採用されていませんでした。


ただ、今年中国で発表された「EZ-6」は格納式ドアハンドルがマツダの量産車で初採用されましたが、このモデルはベース車両と見られる"深藍SL03"に採用されていた事が関係してる可能性が高いので、今回の特許内容が生かされているかは不明・・・・。
今後登場するマツダ自社開発の新型車でどうなるのか気になるところですね。


いつも通り現時点では"あくまで特許"ですが、個人的にはICONIC SPや次期ロードスターだけでなくVISION COUPEのような4ドアクーペでも採用されるのを期待したいですね・・・。
・石川県公式HP(令和6年1月4日から受付開始)
・富山県公式HP(令和6年1月5日から受付開始)
※:新潟県は現時点で義援金受け付けを行っていないので、日本赤十字を通じた義援金やふるさと納税で貢献するのがいいかもしれません。