今年最後のマツダの特許内容になります。

今週は8件のみと少なめですがその中からいくつか取り上げます♪
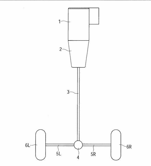
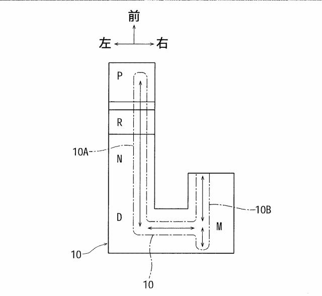
まずは「シフトレバー式の車両用シフト操作装置」








縦置きFR用車両のATシフトレバーに関する内容です。
特許の目的は・・・
「シフトポジションセンサの故障時においても、適切で確実なシフト操作を簡素な構成で達成し得る車両用シフト操作装置を提供すること」
万が一センサーが故障した場合、通常はマニュアルモードの部分にRやDのレンジを割り振りするという事のようです。
割り振り方も数種類候補に上がっています。
続いては「車両用表示装置」という内容。






特許の目的は・・・
「運転者が、車両の進行方向に対する注意を低下させることなく、車両の姿勢と挙動を正確に認識しやすくすることができる車両用表示装置を提供すること」
インパネにLEDで水平ラインを表示して車両の挙動や姿勢を分かりやすくする。
水平ラインの発光領域やON/OFFも可能との事。
走りやドライビングに拘るマツダらしいこの内容は出願公開で見かけた時から気になってましたが、今回無事に特許を取得したようです♪
活用次第ではGVC+の作動状況を確認可能にしたり、i-DMのレベルUPに活用なんて事もありかもしれませんね🧐
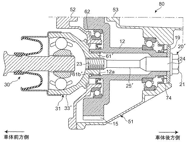
最後は「車両のトランスファ装置」






マツダの特許・出願ですっかりおなじみになった縦置きFRベースのAWD車用トランスファ装置に関する内容です。
特許の目的は・・・
「コンパクトに構成しつつトランスファ装置側のプロペラシャフトの自在継手の組付性を確保すると共にプロペラシャフトが抜けることを抑制することができる車両のトランスファ装置を提供すること」
今回は以上になります。
明日の出願公開も今年で最後になるのでどんな内容が出てくるのか気になるところです🙄