今週の出願公開はわずか6件。



ただし、かなり気になる内容がほとんどなので見ていきます。
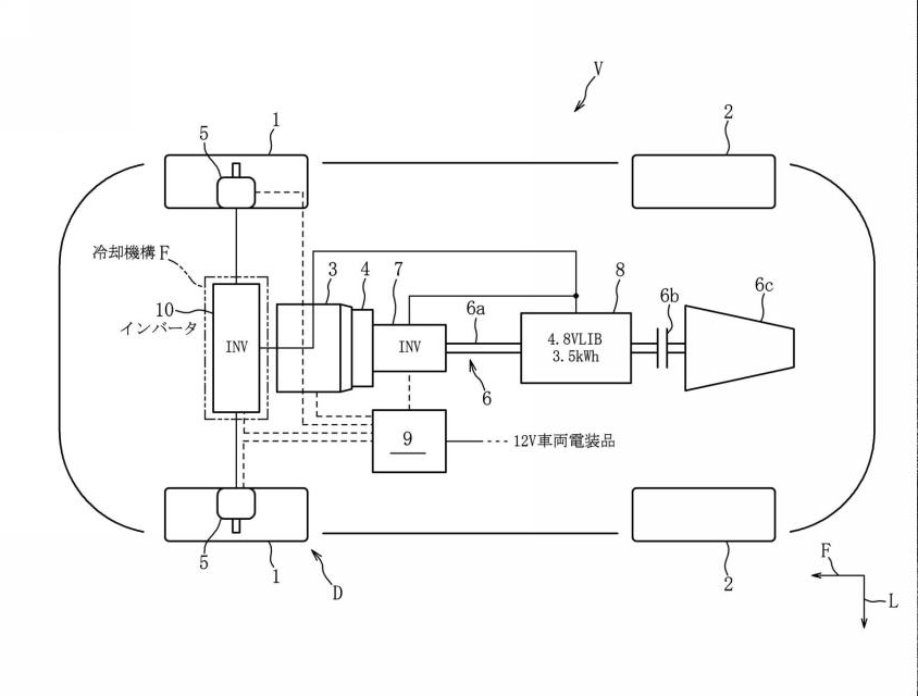
まずは「車両用インバータの冷却構造」という内容。
特開2019-216516 | 知財ポータル「IP Force」








マツダの特許・出願で以前から注目しているアルミ製スペースフレーム関連の続編と言えそうな内容です。
今回は搭載されるインバーターの冷却に関する部分の内容になってます。
〇基本構成
・FR駆動の48Vハイブリッド車両
・ダブルウィッシュボーン式サスペンション
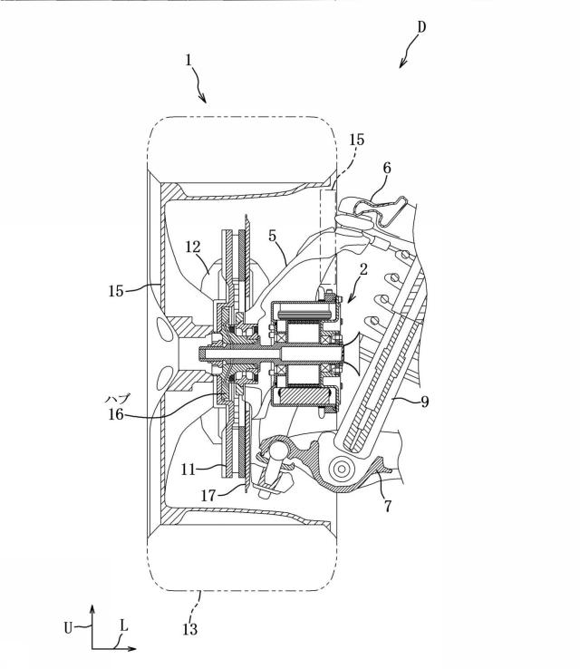
・インホイールモーター搭載
・トランスアクスル機構
・フライホイールレスエンジン
これまでのアルミ製スペースフレームに関する内容ではパワートレインに関する記述がありませんでした。
(これまでの出願内容をまとめた記事はこちら。)
今回の出願内容でアルミ製スペースフレームに搭載されるパワートレインについて初めて記述が含まれましたが、以前から出ているインホイールモーターの内容が関係していたという事になりそうです。
(インホイールモーターに関する出願の記事はこちら)
元々、フロントスペースが狭い点から「載せるとしたらロータリーしか無いのでは?」と思っていましたが、トランスアクスル化も含まれて来るならレシプロエンジンも可能かもしれません。
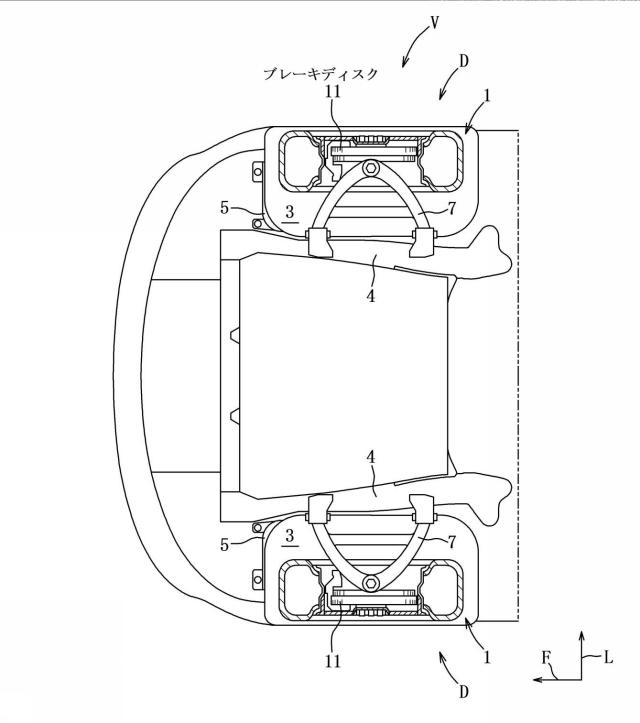
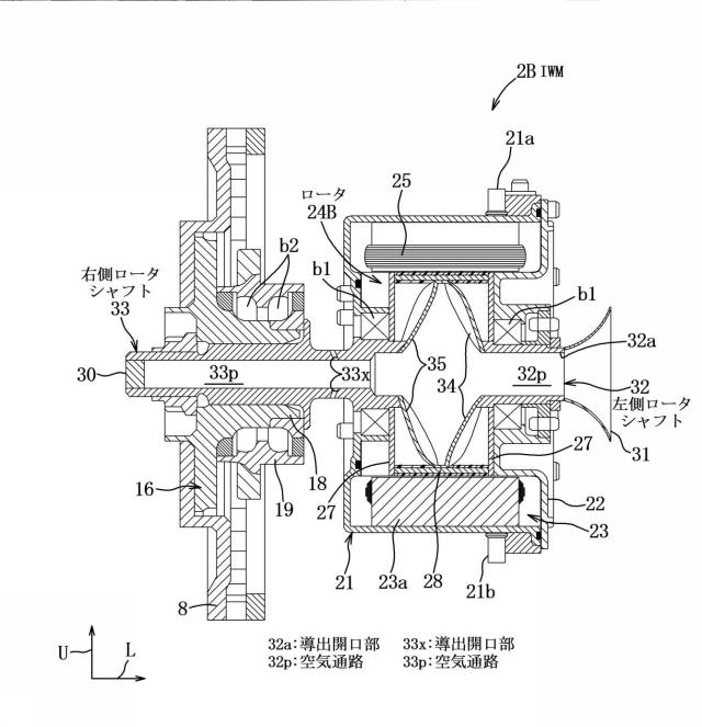
今週はさらに「インホイールモータ駆動装置」という新たな内容も出ています。
特開2019-214257 | 知財ポータル「IP Force」






出願の目的は・・・
「ロータ軸を用いてブレーキディスクに空気を供給することにより、ブレーキディスクとロータの冷却性能を両立することができるインホイールモーター装置に関する内容」
基本構成は上にリンクが貼ってある前回のインホイールモーター関連記事の時と同じです。
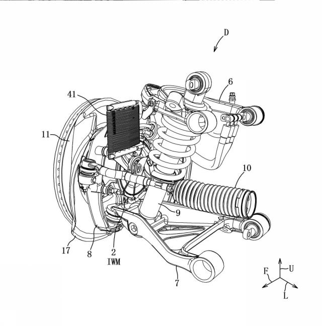
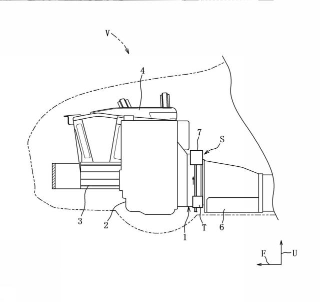
続いては「車両の電動機冷却システム」という内容。
特開2019-216515 | 知財ポータル「IP Force」






出願の目的は・・・
「本発明の車両の電動機冷却システムによれば、第1冷媒の流動力を用いて第2冷媒を移動させることによって、部品点数の削減、構成の簡単化及び小型化を図ることができる」
基本構成は・・・
・FR車両
・フライホイールレスエンジン
・48Vハイブリッド
・120Vで駆動される17kWの三相誘導モータ(SRモータ)によって構成された副駆動モーター(おそらくインホイールモーターの事)
上記で取り上げた出願内容との関連性がかなり強そうな内容です。
説明図に書かれているエンジンがかなりコンパクトなのでロータリーエンジンにも思えますがどうでしょうね・・・。
今週の気になった内容は以上になります♪
かなり濃い中身でした・・・(笑)